Operation CHARM: Car repair manuals for everyone.
Manuals through 2025 now available!

Our trusted friends have launched a new website named LEMON, which has newer manuals. It also contains all the CHARM manuals.

LEMON is the spiritual successor to CHARM, I recommend you try it!

Link: lemon-manuals.la or lemon-manuals.org.ua

(Some people have issue connecting. LEMON is investigating. For now, use Firefox or change your DNS server)

Or, hide this message: temporarily or permanently

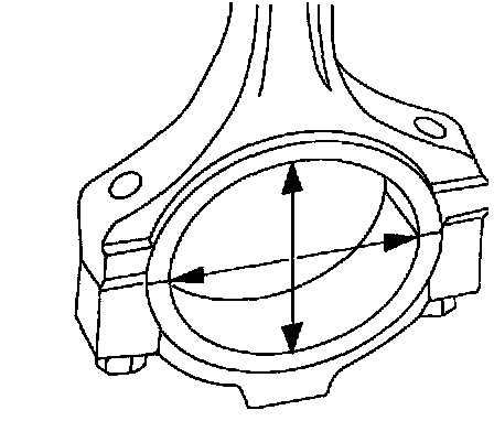
Large End Bore

CONNECTING ROD- LARGE END BORE





1. Measure the bore in two directions. The difference is the connecting rod bore out-of-round. Verify the out-of-round is within specification.
1. If out of specification, install new components as necessary.