Operation CHARM: Car repair manuals for everyone.
Manuals through 2025 now available!

Our trusted friends have launched a new website named LEMON, which has newer manuals. It also contains all the CHARM manuals.

LEMON is the spiritual successor to CHARM, I recommend you try it!

Link: lemon-manuals.la or lemon-manuals.org.ua

(Some people have issue connecting. LEMON is investigating. For now, use Firefox or change your DNS server)

Or, hide this message: temporarily or permanently

Transaxle Case

Disassembly Note





1. Remove and discard the final drive lube tube.





2. Using the special tool, remove and discard the final drive lube tube seal.





3. Remove the parking pawl ratcheting spring.





4. Remove the manual control lever outer assembly.





5. Remove the manual control lever shaft assembly.





6. Remove the parking pawl shaft retainer and bolt.





7. Remove the parking pawl shaft.





8. Remove the parking pawl assembly.
1 Remove the parking pawl.
2 Remove the parking pawl return spring.

Caution: Do not damage the transaxle case bore during seal removal.





9. Remove and discard the manual control lever seal.





10. Remove the manual valve actuator rod (manual valve link).

Caution: Do not damage the transaxle case sealing surface.





11. Remove and discard the manual valve detent lever shaft retaining pin.

Caution: Do not damage the transaxle case sealing surface.

Note: There are two retaining pins, one on either side of the manual valve detent lever.





12. Remove the manual valve detent lever shaft retaining pin.





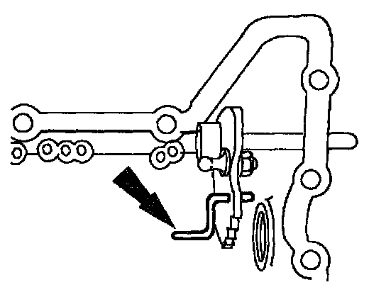
13. Remove the manual valve detent lever and shaft assembly.
1 Pull the manual valve detent lever and manual valve detent lever shaft from the transaxle case.
2 Lift the manual valve detent lever from the transaxle case.

Caution: Do not damage the seal bore in the case during seal removal.





14. Remove and discard the manual control seal.





15. If the case is being replaced, remove the line pressure port plug.





16. If a new case is being installed, remove and discard the cooler tube fitting.

Note: A new driven sprocket bearing No.18 can be installed once before an installation of the transaxle case becomes necessary. If a new No. 18 driven sprocket bearing was installed previously and a second installation is required, a new transaxle case must be installed.





17. As necessary, remove the No. 18 driven sprocket bearing assembly from transaxle case.
1 Install the special tool into the transaxle.
2 Position the special tool.
3 Remove the bearing.





18. Using the special tools, remove the No. 18 driven sprocket bearing assembly.
1 Position the special tool.
2 Position the special tool.
3 Remove the No.18 driven sprocket bearing.

Warning: In order to avoid injury, eye protection should be worn when cleaning components with compressed air. Failure to follow these instructions can result in personal injury.

19. Clean all components with a suitable solvent and use moisture-free compressed air to dry all parts and clean fluid passages. Check the following before assembling:
1 final drive lubrication tube for damage
2 manual control linkage for damage or wear
3 case mating surfaces for nicks or deformation
4 bearing wear
5 support area wear

Assembly Note

Note: A new driven sprocket bearing No.18 can be installed once before an installation of the transaxle case becomes necessary. If the No.18 driven sprocket bearing was installed previously and a second installation is required, a new transaxle case must be installed.





1. As necessary, install the No.18 driven sprocket bearing into the transaxle case.
1 Position the special tool.
2 Position the special tool.
3 Install new bearing.

Caution: Do not lubricate the outer surface of the No. 18 driven sprocket bearing assembly.

Note: The No.18 driven sprocket bearing must be installed with the lettering on the needle bearing surface facing toward the needle bearing replacer.





2. Using the special tools, install the No.18 driven sprocket bearing assembly by pressing it into the transaxle case.
1 Install the bearing on the special tool.
2 Position the special tool.
3 Install the No.18 driven sprocket bearing.





3. Install the cooler tube fitting.





4. Install the line pressure port plug.





5. Using the special tool, install a new manual control lever seal.





6. Using the special tool, install a new manual control seal.





7. Install the manual valve detent lever assembly and the manual valve detent lever shaft assembly.
1 Position the manual valve detent lever into the transaxle case.
2 Install the manual valve detent lever shaft into the transaxle case and lever.





8. Install a new manual shaft retaining pin.

Caution: Do not allow the manual shaft retaining pin to contact the transaxle case.





9. Install a new manual valve detent lever shaft retaining pin.
1 Verify that the manual valve detent lever shaft rotates without binding.





10. Install the manual valve actuator rod (manual valve link).





11. Install the parking pawl assembly.
1 Install the parking pawl return spring.
2 Install the parking pawl.





12. Install the parking pawl shaft.





13. Install the parking pawl shaft retainer and bolt.

Note: Lubricate the manual control lever inner shaft prior to installation.





14. Install the manual control lever shaft assembly.

Note: Verify that the actuating cam rotates freely.

15. Install the parking pawl ratcheting spring.

Note: Hand-tighten the manual control lever bolt; it will be torqued after linkage adjustment.





16. Install the manual control lever outer assembly and bolt.





17. Using the special tool, install a new final drive lube tube seal.





18. Install the final drive lube tube into the seal.





19. Using the special tool, install the final drive lube tube into the case.