Operation CHARM: Car repair manuals for everyone.
Manuals through 2025 now available!

Our trusted friends have launched a new website named LEMON, which has newer manuals. It also contains all the CHARM manuals.

LEMON is the spiritual successor to CHARM, I recommend you try it!

Link: lemon-manuals.la or lemon-manuals.org.ua

(Some people have issue connecting. LEMON is investigating. For now, use Firefox or change your DNS server)

Or, hide this message: temporarily or permanently

Installation

TRANSAXLE-INSTALLATION

Note: If the torque converter was not installed during assembly it must be installed now.





1. Using the special tool, install the torque converter.

Note: The torque converter hub must be fully seated into the transaxle pump drive gear.





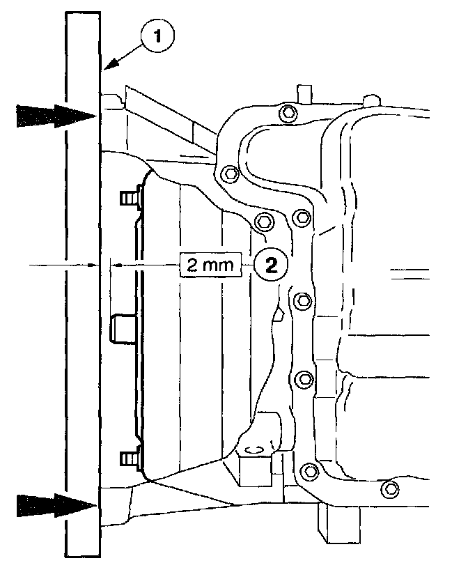
2. Check the installation depth of the torque converter.
1 Lay a straightedge on the transaxle converter housing.
2 Check the clearance between the straight edge and the pilot hub.





3. Lubricate the torque converter pilot hub with Multi-Purpose Grease.





4. Install the special tool.





5. Position the transaxle with the power take off (PTO) unit in place.





6. Remove the special tool.





7. Move the transaxle assembly toward the engine assembly and install the bolt.

Note: Install the two transaxle mounts and then remove jack from under the engine.





8. Install the bolt.





9. Install the bolts.
10. Remove the transaxle jack.





11. Install the fluid cooler line.





12. Install the fluid cooler tube.
1 Install the fluid cooler tube.
2 Install the bolt.
3 Connect the output shaft speed (OSS) sensor.
4 Connect the turbine shaft speed (TSS) sensor.





13. Install four flexplate nuts.





14. Install the access cover.
15. Lower the vehicle.





16. Using the special tool, raise the transaxle enough to install the cross brace.
17. Raise and support the vehicle.





18. Install the cross brace.





19. Install the bracket, and tighten the bolts.

Note: On 4WD vehicles, install the rear exhaust manifold assembly, alternator bracket, and alternator.





20. Install the bolts.





21. Soueeze the two tabs and install the PTO vent tube.





22. Install the driveshaft, and install four rear driveshaft bolts,





23. Install the front driveshaft bolts.





24. Install the exhaust pipe, and connect the exhaust pipe flange.





25. Connect the front flange.





26. Install the exhaust pipe.
1 Install the pipe, and install the bolts.
2 Install the rubber hanger.
3 Remove the special tool.





27. Install the cross brace.
28. Install the LH halfshaft assembly.

Caution: Align the mounting bracket studs and the intermediate shaft bearing bracket holes with the marks made during removal.

29. Install the RH halfshaft, intermediate shaft bearing, and intermediate shaft assembly.





30. Install the two splash shields.
31. Install both front wheels.
32. Lower the vehicle.





33. Lower the engine onto the RH engine mount.





34. Install the bolt for the RH engine mount.





35. Install the rear transaxle mount.





36. Install the transaxle mount assembly.





37. Install the bolts.





38. Remove the special tool.





39. Remove the special tool.





40. Remove the special tool.





41. Connect the electrical connectors to the valve cover.





42. Install the starter motor, and install two bolts.





43. Install the ground cable.





44. Install the starter motor harness connector.





45. Install the shift cable and bracket.





46. Connect the shift cable.





47. Connect the wire harness.





48. Install the wire harness bracket spacer.





49. Install the wire harness bracket, and connect the transaxle harness connector.





50. Connect the H02S sensor.





51. Connect the two HO2S sensors.





52. Connect the transaxle range (TR) sensor.

Note: If not done during assembly, the digital TR sensor must be aligned.





53. Using the special tool, align the digital TR sensor.





54. Install the air cleaner assembly.





55. Install the intake tube and air cleaner cover.





56. Connect the breather tube and mass air flow (MAF) intake air temperature (IAT) sensor.

Note: Before installing the battery tray, check the vent tube hose for any obstructions, kinks or incorrect routing position.

57. Install the battery and tray.
58. Connect the battery cables.