Operation CHARM: Car repair manuals for everyone.
Manuals through 2025 now available!

Our trusted friends have launched a new website named LEMON, which has newer manuals. It also contains all the CHARM manuals.

LEMON is the spiritual successor to CHARM, I recommend you try it!

Link: lemon-manuals.la or lemon-manuals.org.ua

(Some people have issue connecting. LEMON is investigating. For now, use Firefox or change your DNS server)

Or, hide this message: temporarily or permanently

Axle

Disassembly

Caution: Extreme care must be taken not to damage aluminum axle housing while carrying out these procedures.





1. Using the special tool, mount the axle housing to a bench.

Note: RH side shown, LH side similar.





2. Using the special tools, remove the halfshaft bearings and seals.

Caution: The letters or numbers stamped on the cap and carrier must be matched upon assembly.





3. Remove the bearing caps.
1 Remove the bolts.
2 Remove the bearing caps.

Caution: Overspreading can damage the axle housing.





4. Using the special tools, remove the differential case.
1 Spread the axle housing.
2 Remove the differential case and tag the bearing cups to indicate which side of the carrier they were removed from.





5. Remove the special tools.

Caution: Make sure the drive pinion does not fall out of the axle case when the drive pinion nut is removed.

Note: The drive pinion nut is staked in the groove of the drive pinion shaft. There may be metal left in the groove that must be removed.





6. Using the special tools, remove the drive pinion nut.

Warning: Gear teeth have sharp edges. Use care when handling the drive pinion. Failure to follow these instructions may result in personal injury. Failure to follow these instructions may result in personal injury.





7. Remove the drive pinion, collapsible spacer and drive pinion bearings.
1 Remove the drive pinion, collapsible spacer and inner drive pinion bearing.
2 Remove the outer drive pinion bearing.
3 Discard the collapsible spacer.





8. Using the special tools, remove the outer drive pinion bearing cup.

Caution: Make sure not to damage the axle housing when removing the inner drive pinion bearing cup.

Caution: A new oil baffle located between the inner drive pinion bearing cup and the axle housing bore must be installed at the time of assembly.





9. Remove the inner drive pinion bearing cup and oil baffle.

Note: LH side shown, RH side similar.





10. Using the special tools, remove the differential case bearings and shims.
1 Tag the bearing cups and cones together to indicate which side of the carrier they were removed from.
2 Discard any damaged shims.

Warning: Gear teeth have sharp edges. Use care when handling the drive pinion. Failure to follow these instructions may result in personal injury.





11. Remove the ring gear.
1 Remove and discard the bolts.
2 Remove the ring gear.





12. Remove the differential pinion shaft.
1 Remove the differential pinion shaft lock pin.
2 Remove the differential pinion shaft.

Caution: Make sure to note the location of the pinion gears, side gears and thrust washers to assemble in the same locations.





13. Remove the two pinion gears, two side gears and four thrust washers.
1 Rotate the pinion gears and pinion gear thrust washers to the window and remove.
2 Remove the side gears and side gear thrust washers.





14. Using the special tool, remove the drive pinion bearing and drive pinion position shim.

Assembly

Caution: A new oil baffle must be installed located between the inner drive pinion bearing cup and the axle housing bore.





1. Using the special tool, install a new oil baffle, inner and the outer drive pinion bearing cups.
1 Apply dry film lubricant to the drive pinion bearing cup bore.





2. Install the special tools, inner and outer drive pinion bearings.
1 Preload the drive pinion bearings.

Note: The special tool must be offset to obtain an accurate reading.

Note: Rotate the special tool several half turns to correctly seat the drive pinion bearings.





3. Position the special tool 45 degrees as shown.





4. Install the special tool.
1 Position the special tool.
2 Position the bearing caps.
3 Install the bolts.

Caution: If the drive pinion is marked with a plus (+) reading, this amount must be subtracted from the thickness measured. If the drive pinion is marked with a minus (-) reading, this amount must be added to the thickness measured.





5. Measure and record the clearance between the gauge tube and the gauge block.
1 Select and check the correct drive pinion position shim as necessary.

Caution: The same drive pinion bearings and drive pinion bearing cups used in the drive pinion position shim selection procedure must be used in the final axle assembly.





6. Using the special tools, install the drive pinion position shim and the bearing onto the drive pinion.
1 Position the drive pinion position shim.
2 Position the drive pinion bearing.
3 Position the special tools.
4 Using a press, firmly seat the drive pinion bearing on the drive pinion.

Caution: Do not reuse the old collapsible spacer.





7. Install a new collapsible spacer.





8. Using the special tools, install the drive pinion and a new drive pinion nut.
1 Rotate the drive pinion counterclockwise until all end play is removed then tighten the drive pinion nut.

Caution: If the rotational torque is less than specification, tighten the drive pinion nut in small increments until it is within specification. Do not tighten the drive pinion nut more than 628 Nm (500 ft. lbs.) or the collapsible spacer will be damaged. If the rotation torque is higher than specification, the collapsible spacer has been compressed too far and a new collapsible spacer must be installed.

Note: When tightening the drive pinion nut to remove initial end play, torque may exceed the maximum specification. Once end play is removed and the collapsible spacer has started to collapse, the torque should drop into the specified range. Rotate the drive pinion 10 revolutions before taking the reading.





9. Check the drive pinion rotational torque and adjust as necessary.

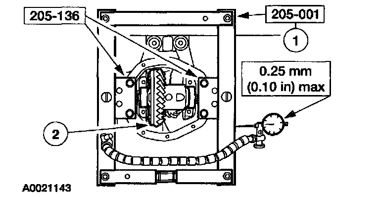
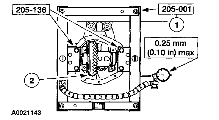
Note: The differential case should move freely in the axle housing.





10. Using the special tools, install the differential case into the axle housing.

Note: Repeat this step until a same reading is obtained twice.





11. Seat the differential case away from the drive pinion then push the differential case toward the drive pinion while measuring and recording the differential case total end play.

Note: Take note which side each special tool was removed from so they can be installed on the same side of differential case for the next measurement with the ring gear installed.





12. Remove the differential case and the special tools.

Caution: If reusing original pinion gears, side gears or thrust washers, install in the same locations that they were removed.





13. Install the two pinion gears, two side gears and four thrust washers.
1 Position the side gears and side gear thrust washers.
2 Rotate the pinion gears and pinion gear thrust washers to the differential pinion shaft hole in the differential case.
3 Apply SAE 75W-140 rear axle lubricant to the pinion gears, side gears and thrust washers.





14. Install the differential pinion shaft.
1 Install the differential pinion shaft.
2 Install the differential pinion shaft lock pin.

Warning: Gear teeth have sharp edges. Use care when handling the drive pinion. Failure to follow these instructions may result in personal injury.





15. Install the ring gear.
1 Position the ring gear.
2 Install new ring gear bolts in an alternately and evenly pattern.





16. Using the special tools, install the differential case into the axle housing.
1 Install the special tools on the same ends of the differential case as they were previously installed.

Note: Repeat this step until a same reading is obtained twice.





17. Seat the differential case away from the drive pinion then push the differential case toward the drive pinion while measuring and recording the differential case total end play.





18. Remove the differential case and special tools.
19. Calculate for the differential case bearing shims as follows:





Differential Case shim selection





Example

Note: If the special tools do not measure 18.136 mm (0.714 inch) ± 0.025 mm (0.001 inch), the numbers in Step One will be overstated by the difference measured on each special tool. The number in Step Two will be overstated by the difference measured on special tool. Adjustments to the shim pack will have to be made in order to prevent bearing pre-loads from becoming excessive.

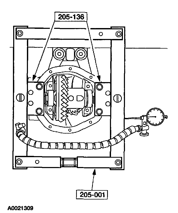
20. Measure the width of the special tools used on the ends of the differential case and select the differential case bearing shims as necessary.

Note: RH side shown, LH side similar.





21. Using the special tools, install the differential case bearings and correct shims.

Caution: Overspreading can damage the axle housing.





22. Using the special tools, install the differential case.
1 Spread the axle housing.
2 Install the differential case.





23. Remove the special tools.





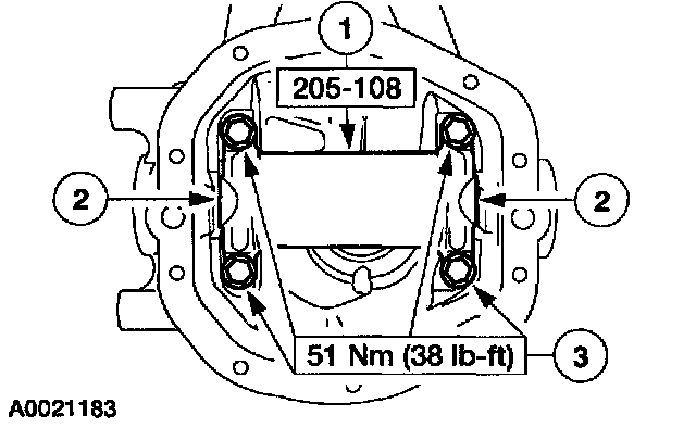
24. Install the bearing caps.
1 Position the bearing caps in the position they were removed.
2 Install the bolts.

Note: The ring gear backlash should be measured at three equally spaced points on the ring gear. If the reading is high, the ring gear must be moved closer to the drive pinion by moving shims to the ring gear side from the opposite side. If the readings are low, the ring gear must be moved away from the drive pinion by moving shims from the ring gear side to the opposite side.





25. Measure and adjust the ring gear backlash as necessary.
26. Position the axle assembly with the drive pinion stem facing upward.

Note: The total turning torque should be the drive pinion rotational torque plus 0.68 - 1.13 Nm (6 - 10 inch lbs.). If the total turning torque is too high, subtract an equal amount of shims from each side of the differential case. If the total turning torque is too low, add an equal amount of shims to both sides of the differential case.





27. Measure and record the total turning torque to rotate the drive pinion and adjust as necessary.

Caution: Lubricate the needle bearings with long life grease prior to installation.

Note: RH side shown, LH side similar.





28. Using the special tools, install the halfshaft bearings.





29. Using the special tools, install the halfshaft seals.