Operation CHARM: Car repair manuals for everyone.
Manuals through 2025 now available!

Our trusted friends have launched a new website named LEMON, which has newer manuals. It also contains all the CHARM manuals.

LEMON is the spiritual successor to CHARM, I recommend you try it!

Link: lemon-manuals.la or lemon-manuals.org.ua

(Some people have issue connecting. LEMON is investigating. For now, use Firefox or change your DNS server)

Or, hide this message: temporarily or permanently

Differential





Exploded View

Legend





1 - 18





19 - 22

DIFFERENTIAL

Disassembly Note
1. Inspect the differential.
1 Inspect for damaged or worn gears.
2 Inspect for cracked or damaged gear case.





2. Remove the differential cover.
1 Remove the differential cover bolts.
2 Remove the differential cover screws.
3 Remove the differential cover.





3. Remove the differential side gear thrust washer and differential side gear.





4. Remove the differential pinion shaft lock pins.





5. Remove the differential pinion shaft cage.
1 Remove the differential pinion shafts.
2 Remove the differential nixing shaft nabs





6. Remove the differential pinion gears and thrust washers.





7. Remove the differential side gear and thrust washer.





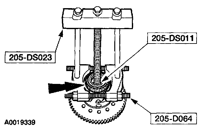
8. Using the special tools, remove the bearing (speedometer drive gear side).
9. Remove the speedometer drive -tear.





10. Remove the differential bearing.

Assembly Note

Note: Whenever a bearing has been removed, a new bearing must be installed.





1. Using the special tool and a press, install the speedometer drive gear and the differential bearing.





2. Using the special tool, install the differential bearing.





3. Install the differential side gear and thrust washer.





4. Install the differential pinion gears and thrust washers.





5. Install the differential pinion shaft cage.
1 Position the differential pinion shaft cage.
2 Install the differential pinion shafts.





6. Install the differential pinion shaft lock pins.





7. Install the differential side gear thrust washer and differential side gear.





8. Install the differential cover.
1 Position the differential cover.
2 Install the differential cover screws.
3 Install the differential cover bolts.