Operation CHARM: Car repair manuals for everyone.
Manuals through 2025 now available!

Our trusted friends have launched a new website named LEMON, which has newer manuals. It also contains all the CHARM manuals.

LEMON is the spiritual successor to CHARM, I recommend you try it!

Link: lemon-manuals.la or lemon-manuals.org.ua

(Some people have issue connecting. LEMON is investigating. For now, use Firefox or change your DNS server)

Or, hide this message: temporarily or permanently

Installation

Installation
1. Apply a thin coating of Premium Long Life Grease XG-1-C or K or equivalent meeting Mazda specification ESA-M1C75-B to the spline of the input shaft.

Note: On front wheel drive only vehicles, make sure to align the RH halfshaft with the transaxle.





2. Secure the transaxle on a transaxle jack. Raise the transaxle to the correct height and position the transaxle to the engine.





3. Install the seven transaxle flywheel housing bolts.





4. Remove the transaxle support.





5. Install the LH side splash shield.
1 Position the LH side splash shield.
2 Install the screws.





6. Install the LH side splash shield screws and the pin type retainer.





7. Install the front-to-aft crossmember.
1 Position the front-to-aft crossmember.
2 Install the bolts and the nut.
3 Install the splash shield screw.





8. Install the transverse crossmember.
1 Position the transverse crossmember.
2 Install the bolts.





9. Connect the shifter linkage and stabilizer bar.
1 Position the shifter linkage.
2 Install the bolt and nut.
3 Position the stabilizer bar.
4 Install the bolt.





10. Install the rear transaxle support insulator bracket.
1 Position the rear transaxle support insulator bracket.
2 Install the bolts.
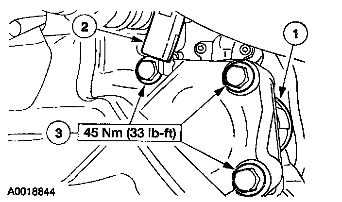
11. Install the LH halfshaft.





12. Install the front transaxle flywheel housing bolts.





13. Install the top transaxle flywheel housing bolts.





14. Install the starter motor.
1 Position the starter motor.
2 Position the electrical connector.
3 Install the bolts.





15. Install the front transaxle support insulator and bracket.
1 Position the front transaxle support insulator.
2 Install the four transaxle support insulator bracket bolts.
3 Install the front transaxle support insulator bolt.





16. Install the rear transaxle support insulator bolt.





17. Install the LH transaxle support insulator bracket.
1 Position the LH transaxle support bracket.
2 Install the nuts and the bolt.





18. Install the LH transaxle support insulator.
1 Position the LH transaxle support insulator.
2 Install the bolts.
3 Install the LH transaxle support insulator to bracket bolt.





19. Remove the special tool.





20. Install the clutch slave cylinder.
1 Position the clutch slave cylinder.
2 Install the bolts.





21. Attach the clutch slave cylinder line to the bracket.
1 Attach the clutch slave cylinder line to the bracket.
2 Install the clip.





22. Connect the vehicle speed sensor (VSS) electrical connector.





23. Install the rear wire harness bracket.
1 Position the rear wire harness bracket.
2 Install the bolts.





24. Connect the park/neutral position (PNP) switch electrical connector.
1 Connect the PNP switch electrical connector.
2 Attach the switch electrical connector to the rear wire harness bracket.





25. Attach the wire harness to the rear wire harness bracket.





26. Install the front wire harness bracket spacer.





27. Install the front wire harness bracket.
1 Position the front wire harness bracket.
2 Install the nut.





28. Connect the reversing lamp switch electrical connector.





29. Install the engine air cleaner housing.
1 Position the air cleaner housing.
2 Install the air cleaner housing bolt.
3 Connect the mass air flow/intake air temperature sensor electrical connector.





30. Install the air cleaner outlet tube.
1 Position the air cleaner outlet tube.
2 Tighten the air cleaner outlet tube clamp.
3 Connect the crankcase ventilation hose.
4 Attach the emission management tube and hose.
5 Attach the accelerator cable to the air cleaner outlet tube.
31. Install the battery tray.
32. Fill the transaxle.