Operation CHARM: Car repair manuals for everyone.
Manuals through 2025 now available!

Our trusted friends have launched a new website named LEMON, which has newer manuals. It also contains all the CHARM manuals.

LEMON is the spiritual successor to CHARM, I recommend you try it!

Link: lemon-manuals.la or lemon-manuals.org.ua

(Some people have issue connecting. LEMON is investigating. For now, use Firefox or change your DNS server)

Or, hide this message: temporarily or permanently

Special Testing Procedures - External Controls

SPECIAL TESTING PROCEDURES
The special tests are designed to aid the technician in diagnosing the hydraulic and mechanical portion of the transaxle.

Line Pressure Test

Caution: Carry out Line Pressure Test before carrying out Stall Speed Test. If line pressure is low at stall, do not carry out stall test or further transaxle damage can occur. Do not maintain WOT in any gear range for more than five seconds.

Caution: The Transaxle Tester must be removed from the transaxle and the vehicle harness connected to verify these pressures.

The Line Pressure Test verifies that the line pressure is within specifications.
1. Connect pressure gauge to line pressure tap.
2. Start engine and check line pressures. Refer to Line Pressure Chart to determine if line pressure is within specifications.





3. If line pressure is not within specifications, carry out on-board diagnostics and pinpoint test, air pressure check and repair main control system or pump as required.





Line Pressure Chart

Line Pressure Diagnosis
If the line pressure is low at idle in all ranges check the following items:
- Low fluid level
- Restricted inlet filter
- Loose main body
- Solenoid body or accumulator body to case bolts
- Excessive leakage in pump
- Case
- Control bodies
- Sticking main regulator valve or damaged inlet tube seal on inlet filter
- Damaged gaskets or separator plate
If the line pressure is high at idle in all ranges then check the following items:
- Main regular valve
- Solenoid body and wiring harness
- Run Quick Test referred to in electrical diagnosis

Stall Speed Test
The Stall Speed Test checks the operation of the following items:
- Torque converter one-way clutch
- Forward clutch
- Low/reverse one-way clutch
- Reverse clutch
- Forward one-way clutch
- Engine performance

Warning: Apply the service and parking brakes firmly while carrying out each stall test. Failure to set brakes can result in death or bodily injury.

Caution: Carry out Line Pressure Test before carrying out the stall test. If line pressure is low at stall, do not carry out stall test or further transaxle damage can occur.

Note: The stall test should only be carried out with the engine and transaxle at normal operating temperatures.

1. Connect a tachometer to the engine.

Caution: Do not maintain wide open throttle (WOT) in any gear range for more than five seconds.

Caution: If engine rpm recorded by the tachometer exceeds maximum specified rpm, release accelerator pedal immediately. Clutch or band slippage is indicated.

2. Press accelerator pedal to floor (WOT) in each range. Record rpm reached in each range. Stall speeds should be in appropriate range.





Stall Speed Chart

After testing DRIVE (D) and REVERSE (R), move transaxle range selector lever to NEUTRAL (N) and run engine for about 15 seconds to allow torque converter to cool before testing next range.
If the stall speeds were too high, refer to the Stall Speed Diagnosis Chart. If the stall speeds were too low, first check engine tune-up. If engine is OK, remove torque converter and check torque converter one-way clutch for slippage.





Stall Speed Diagnosis Chart

Air Pressure Tests
A no-drive condition can exist even with correct transaxle fluid pressure because of inoperative clutches or bands. Refer to the Clutch/Band Application Chart No. 601 to determine the appropriate elements. A clutch concern can be located by substituting air pressure for oil pressure to determine the location of the malfunction.
For example when the transaxle range selector lever is in a forward gear range (D, 2, 1 ) a no-drive condition can be caused by an inoperative forward clutch.

Test Procedures
Carry out the following procedures:
1. Drain the transaxle. Remove main control cover.
2. Remove the main control as an assembly with the solenoid body assembly.
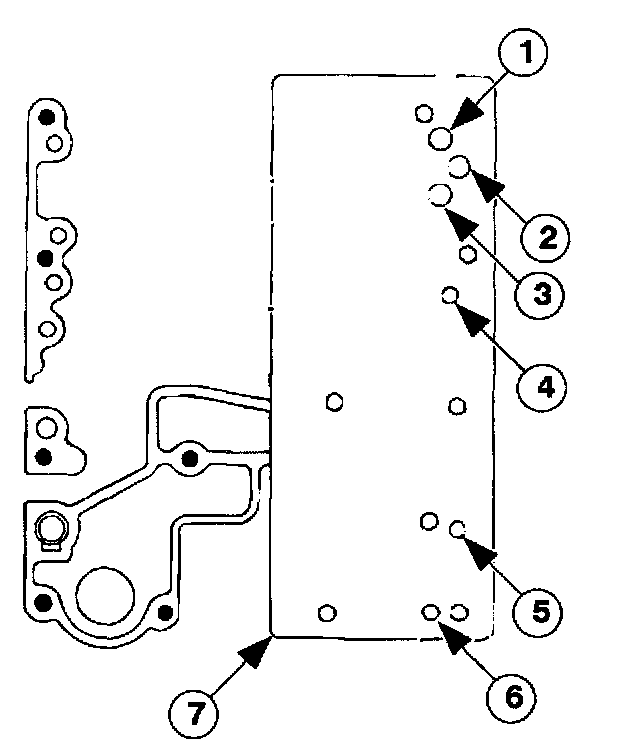
3. The inoperative clutches can be located by applying air pressure into the appropriate clutch port. Refer to Air Pressure Test Port Locations in this Section.
4. Install Transaxle Test Plate 49 UN30 7351 using six bolts.

Caution: The coast clutch circuit should not be applied unless air pressure is maintained in the forward clutch circuit. Failure to do so can result in the coast clutch piston coming out of the forward clutch piston.

Note: Refer to Clutch/Band Application Chart No. 601.

5. Apply air pressure 275 KPa (40 psi) to the appropriate clutch port (refer to Air Pressure Test Port Locations diagram). A dull thud may be heard, or movement felt when the clutch piston is applied. If clutch seals or check balls are leaking, a hissing may be heard.

Air Pressure Test Port Locations





Figure





Table

Air Pressure Test Results
If the servos do not operate, disassemble, clean and inspect them to locate the source of the concern. If air pressure applied to the clutch passages fails to operate a clutch, or operates clutches simultaneously, inspect the fluid passages in the case.
If air pressure applied to the accumulator fails to operate an accumulator, remove and inspect case passages and piston.