Operation CHARM: Car repair manuals for everyone.
Manuals through 2025 now available!

Our trusted friends have launched a new website named LEMON, which has newer manuals. It also contains all the CHARM manuals.

LEMON is the spiritual successor to CHARM, I recommend you try it!

Link: lemon-manuals.la or lemon-manuals.org.ua

(Some people have issue connecting. LEMON is investigating. For now, use Firefox or change your DNS server)

Or, hide this message: temporarily or permanently

Tightening Specifications

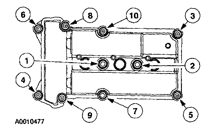
LH Valve Cover Torque Sequence:




RH Valve Cover Torque Sequence:




LH Camshafts Bearing Cap Bolts Removal Sequence:




LH Camshafts Bearing Cap Bolts Torque Sequence:




RH Camshafts Bearing Cap Bolts Removal Sequence:




RH Camshafts Bearing Cap Bolts Torque Sequence:




LH Cylinder Head Bolts Removal Sequence:




LH Cylinder Head Bolts Torque Sequence:




RH Cylinder Head Bolts Removal Sequence:




RH Cylinder Head Bolts Torque Sequence:




LH Exhaust Manifold Torque Sequence:




RH Exhaust Manifold Torque Sequence:





CYLINDER HEAD

NOTE: Bolts are torque-to-yield and new bolts must be installed or engine damage may occur.

Cylinder head bolt torque
Step 1 40 Nm (30 ft lb)
Step 2 Tighten an additional 90°
Step 3 Loosen one full turn
Step 4 Tighten to 40 Nm (30 ft lb)
Step 5 Tighten 90°
Step 6 Tighten 90°








CYLINDER BLOCK
Crankshaft Pulley
Step 1 120 Nm (86 ft lb)
Step 2 Loosen bolt 360°
Step 3 50 Nm (37 ft lb)
Step 4 Tighten an additional 90°

Lower Cylinder Block Bolts Removal Sequence:








Lower Cylinder Block Bolts/Nuts
Step 1 Tighten fasteners 1-8 to 25 Nm (18 ft lb)
Step 2 Tighten fasteners 9-19 to 40 Nm (30 ft lb)
Step 3 Tighten fasteners 1-16 90°
Step 4 Tighten fasteners 17 -22 to 25 Nm (18 ft lb)





Oil Pump Pickup
Step 1 5 Nm (44 in lb)
Step 2 Tighten 45°





FLEXPLATE/FLYWHEEL/CLUTCH
Flexplate bolts 80 Nm (59 ft lb)
Flywheel bolts 112 Nm (83 ft lb)