Operation CHARM: Car repair manuals for everyone.
Manuals through 2025 now available!

Our trusted friends have launched a new website named LEMON, which has newer manuals. It also contains all the CHARM manuals.

LEMON is the spiritual successor to CHARM, I recommend you try it!

Link: lemon-manuals.la or lemon-manuals.org.ua

(Some people have issue connecting. LEMON is investigating. For now, use Firefox or change your DNS server)

Or, hide this message: temporarily or permanently

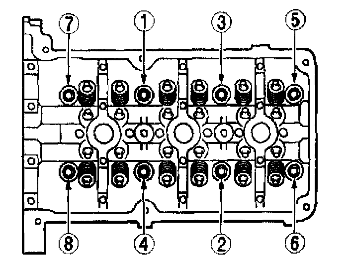
Cylinder Head Tightening Torque





Cylinder Head (LH) Tightening Torque





Cylinder Head (RH) Tightening Torque

1. Tighten to 32 - 38 Nm (3.3 - 3.8 kgf-m, 24-28 ft. lbs.)
2. Tighten 85 - 95 °.
3. Loosen 360 ° (one full turn) in reverse order.
4. Tighten to 32 - 38 Nm (3.3 - 3.8 kgf-m, 24 - 28 ft. lbs.)
5. Tighten 85 - 95 °.
6. Tighten 85 - 95 °.