Operation CHARM: Car repair manuals for everyone.
Manuals through 2025 now available!

Our trusted friends have launched a new website named LEMON, which has newer manuals. It also contains all the CHARM manuals.

LEMON is the spiritual successor to CHARM, I recommend you try it!

Link: lemon-manuals.la or lemon-manuals.org.ua

(Some people have issue connecting. LEMON is investigating. For now, use Firefox or change your DNS server)

Or, hide this message: temporarily or permanently

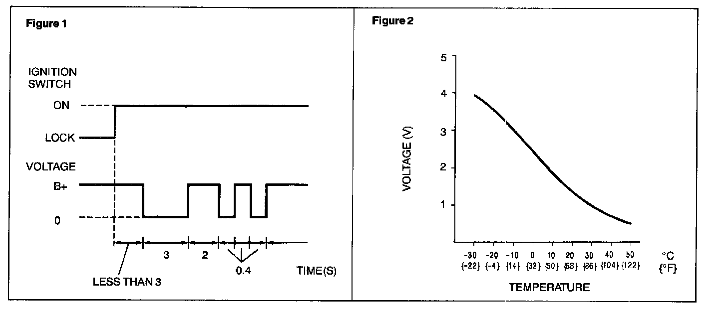
Control Module HVAC: Testing and Inspection

CLIMATE CONTROL UNIT INSPECTION

1. Disassemble the climate control component.







2. Inspect for continuity between the terminals of climate control unit using an ohmmeter.
3. Verify that there is continuity between terminals J and L of the climate control unit connector.







4. Apply battery positive voltage to terminal N and ground to terminals E, G, I, K, M and verify that the following indicators turn on.
- If not as specified, replace the climate control unit.

A/C AMPLIFIER INSPECTION

1. Disassemble the climate control component.
2. Connect the A/C amplifier connectors (20-pin, 16-pin, 8-pin), climate control unit connector, and information display connector.
3. Turn the ignition switch to ON position.




4. Measure the voltage at each A/C amplifier terminal and refer to the terminal voltage table.
- If not as specified, inspect the parts listed under "Action".
- If the parts are okay but the system still does not work properly, replace the A/C amplifier.

Terminal Voltage Table (Reference)/Pinouts Part 1:




Pinouts Part 2:




Pinouts Part 3:




Pinouts Part 4:




Pinouts Part 5:




Pinouts Part 6:




Pinouts Part 7:




Pinouts Part 8:




Pinouts Part 9:




Pinouts Part 10:




Part 1:




Part 2:




Terminal Voltage Table (Reference)