Operation CHARM: Car repair manuals for everyone.
Manuals through 2025 now available!

Our trusted friends have launched a new website named LEMON, which has newer manuals. It also contains all the CHARM manuals.

LEMON is the spiritual successor to CHARM, I recommend you try it!

Link: lemon-manuals.la or lemon-manuals.org.ua

(Some people have issue connecting. LEMON is investigating. For now, use Firefox or change your DNS server)

Or, hide this message: temporarily or permanently

Timing Belt: Service and Repair

TIMING BELT REMOVAL/INSTALLATION [KL]
1. Disconnect the negative battery cable.
2. Drain the engine coolant.
3. Remove the right front wheel.
4. Remove in the order indicated in the table.
5. Install in the reverse order of removal.
6. Start the engine and inspect the following:
^ Runout or contact of pulley or drive belt
^ Ignition timing





7. Stop the engine and inspect the drive belt deflection.
8. Inspect the engine coolant level again.

Crankshaft Pulley Removal Note





1. Install the SSTs on the crankshaft pulley.

Caution: The CKP sensor rotor is on the rear of the crankshaft pulley, and can be damaged easily.

2. Remove the crankshaft pulley bolt and the crankshaft pulley.

No. 3 Engine Mount Sub Bracket Removal Note





1. Suspend the engine using the SST.





2. Remove the No. 3 engine mount sub bracket.

Timing Belt Removal Note





Note: Mark the timing belt rotating direction on the belt for proper reinstallation.





1. Install the crankshaft pulley bolt on the crankshaft
2. Turn the crankshaft clockwise and align the timing marks. (No. 1 piston is at TDC of the compression stroke)





3. Loosen the auto tensioner bolts and remove the lower bolt

Caution: When removing the bolt, hold the tensioner so that the bolt holes are aligned, otherwise the threads can be damaged.





4. Remove the No 1 idler pulley

Caution: When removing the pulley bolt, hold the pulley so that the bolt holes are aligned, otherwise the threads can be damaged.





5. Remove the timing belt

Caution: The following will damage the belt and shorten its life:
- Forcefully twisting
- Turning inside out
- Bending, or allowing oil
- Grease on

Timing Belt Auto Tensioner Installation Note





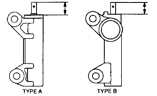
1. Measure the tensioner rod projection length.
^ Replace the auto tensioner if necessary.
Projection (Free length)
Type A: 13.0 - 14.0 mm (0.512 - 0.551 inch)
Type B: 14.3 - 15.1 mm (0.563 - 0.594 inch)
2. Inspect the auto tensioner for oil leakage.
^ Replace the auto tensioner if necessary.





3. Slowly press in the tensioner rod using a press.

Caution: Applying pressure of more than 9.8 kN (1,000 kgf, 2,200 lbs) can damage the auto tensioner.





4. Insert a pin into the hole in the body as shown to hold the tensioner rod.
Pin diameter
Type A: 2.0 mm (0.079 inch)
Type B: 1.4 mm (0.055 inch)





5. Set the tensioner in place and hand tighten the tensioner upper bolt.

Note: This must be done to reduce the timing belt resistance when the idler pulley is installed.

Timing Belt Installation Note





1. Turn the camshafts clockwise and align the timing marks.





2. Using the crankshaft pulley bolt, turn the crankshaft clockwise and align the timing marks.
3. With the No. 1 idler pulley removed, install the timing belt on the pulleys in the following order.
a. Timing belt pulley
b. No. 2 idler pulley
c. Camshaft pulley (LH)
d. Tensioner pulley
e. Camshaft pulley (RH)





4. Verify that there is tension between pulleys 3 and 1, and between pulleys 1 and 5.





5. Install the No. 1 idler pulley while applying the pressure on the timing belt.
Tightening torque 38 - 51 Nm (3.8 - 5.3 kgf-m, 28 - 38 ft. lbs.)





6. Push the auto tensioner in the direction of the arrow and tighten the bolts.
Tightening torque 19 - 25 Nm (1.9 - 2.6 kgf-m, 14 - 18 ft. lbs.)





7. Remove the pin from the auto tensioner to apply tension to the belt.





8. Turn the crankshaft clockwise twice, and align the timing marks.
9. Verify that all timing marks are correctly aligned.
^ If not, remove the timing belt and repeat from Timing Belt Auto Tensioner Installation Note.

No. 3 Engine Mount Sub Bracket Installation Note





1. Install the No. 3 engine mount sub bracket.
Tightening torque 75 - 104 Nm (7.6 - 10.7 kgf-m, 55.0 - 77.3 ft. lbs.)





2. Remove the SST (engine support).

Crankshaft Pulley Installation Note
1. Remove the crankshaft pulley bolt.
2. Install the crankshaft pulley and hand tighten the crankshaft pulley bolt.





3. Install the SSTs to the crankshaft pulley.
4. Tighten the crankshaft pulley bolt.
Tightening torque 157 - 166 Nm (16 - 17 kgf-m, 116 - 122 ft. lbs.)