Operation CHARM: Car repair manuals for everyone.
Manuals through 2025 now available!

Our trusted friends have launched a new website named LEMON, which has newer manuals. It also contains all the CHARM manuals.

LEMON is the spiritual successor to CHARM, I recommend you try it!

Link: lemon-manuals.la or lemon-manuals.org.ua

(Some people have issue connecting. LEMON is investigating. For now, use Firefox or change your DNS server)

Or, hide this message: temporarily or permanently

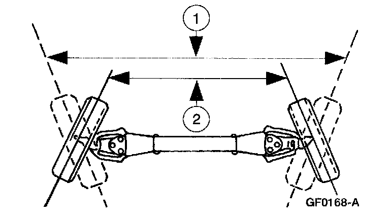
Toe

Toe





1 of 2





2 of 2

Toe is a measurement of how much the front of the wheels are turned in or out from the straight-ahead position.
When the wheels are turned in toward the front of the vehicle, toe is positive (+) (toe in). When the wheels are turned out toward the front of the vehicle, toe is negative (-) (toe out). Toe is measured in degrees from side to side, and totaled.