Operation CHARM: Car repair manuals for everyone.
Manuals through 2025 now available!

Our trusted friends have launched a new website named LEMON, which has newer manuals. It also contains all the CHARM manuals.

LEMON is the spiritual successor to CHARM, I recommend you try it!

Link: lemon-manuals.la or lemon-manuals.org.ua

(Some people have issue connecting. LEMON is investigating. For now, use Firefox or change your DNS server)

Or, hide this message: temporarily or permanently

Disc Brake System: Service and Repair

DISC BRAKE FRONT, REMOVAL / INSTALLATION
1. Raise and support vehicle.
2. Remove tire and wheel assembly.
3. Disconnect brake hose.
4. Remove in order shown in table.








4x2








4x4

5. Install in reverse order of removal.
6. Bleed brake system.
7. Inspect system operation.

Disc Pad Removal Note





Caution:
^ Replace the lining if worn to or past specifications. Replace the pads in complete axle sets.

1. Inspect the pads for wear or contamination.
2. Remove the disc brake caliper.
1. Remove the caliper slide pins.
2. Lift the disc brake caliper off the front disc brake caliper anchor plate.





3. On 4x2 vehicles, measure the front disc brake hub and rotor for minimum thickness. Replace the front disc brake hub and rotor if not within specification.





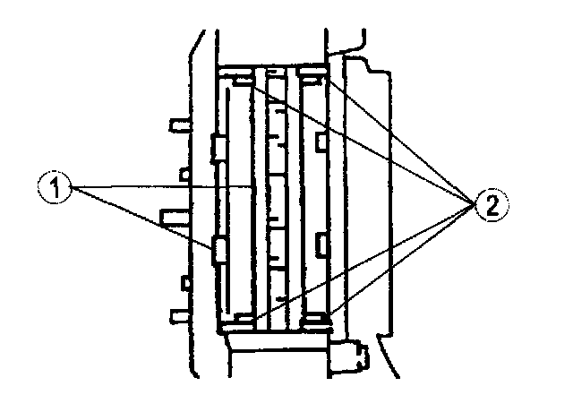
4. Remove the pads (1) and disc brake anti-rattle clips (2).





5. On 4x4 vehicles, measure the front disc brake rotor for minimum thickness. Replace the front disc brake rotor if not within specification.
6. Inspect the disc brake caliper for leaks. If leaks are found, disassembly is required.
7. Install in reverse order of removal.
8. Inspect the brake system operation.

Hub and Rotor Removal Note





1. On 4x2 vehicles, remove the front disc brake hub and rotor as follows:
1. Remove the hub grease cap.
2. Remove the cotter pin.
3. Remove the nut retainer.
4. Remove the spindle nut.
5. Remove the front wheel outer bearing retainer washer.

Note:
^ If necessary on 4x2 vehicles, resurface the front disc brake hub and rotor.

6. Remove the wheel hub grease seal.
7. Remove the front wheel bearing.
8. Remove outer front wheel bearing.
9. Remove the front disc brake hub and rotor.

Caliper Inspection Note
Inspect for leaks. If leaks are found, disassembly is required.

Caliper Installation Note
1. Install the disc brake caliper.





2. Install the disc: stroke airier bolts.

Hub and Rotor Installation Note

Note:
^ On 4x2 vehicles, the front disc brake hub and rotor should be rotated while adjusting front wheel bearing end play.

1. Tighten spindle nut.
2. Loosen the spindle nut 175'.





3. Tighten the spindle nut.
Tightening torque 2 Nm (20 kgf-cm, 17 inch lbs.)