Operation CHARM: Car repair manuals for everyone.
Manuals through 2025 now available!

Our trusted friends have launched a new website named LEMON, which has newer manuals. It also contains all the CHARM manuals.

LEMON is the spiritual successor to CHARM, I recommend you try it!

Link: lemon-manuals.la or lemon-manuals.org.ua

(Some people have issue connecting. LEMON is investigating. For now, use Firefox or change your DNS server)

Or, hide this message: temporarily or permanently

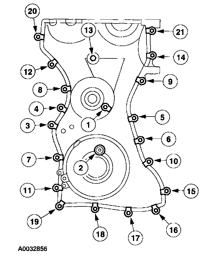
Timing Components





front cover bolts:
8 mm bolts 10 Nm {1 kgf-cm, 7 lbs.}
10 mm bolts 25 Nm {2.5 kgf-cm, 18 lbs.}
13 mm bolts 48 Nm {4.889 kgf-cm, 35 lbs.}