Operation CHARM: Car repair manuals for everyone.
Manuals through 2025 now available!

Our trusted friends have launched a new website named LEMON, which has newer manuals. It also contains all the CHARM manuals.

LEMON is the spiritual successor to CHARM, I recommend you try it!

Link: lemon-manuals.la or lemon-manuals.org.ua

(Some people have issue connecting. LEMON is investigating. For now, use Firefox or change your DNS server)

Or, hide this message: temporarily or permanently

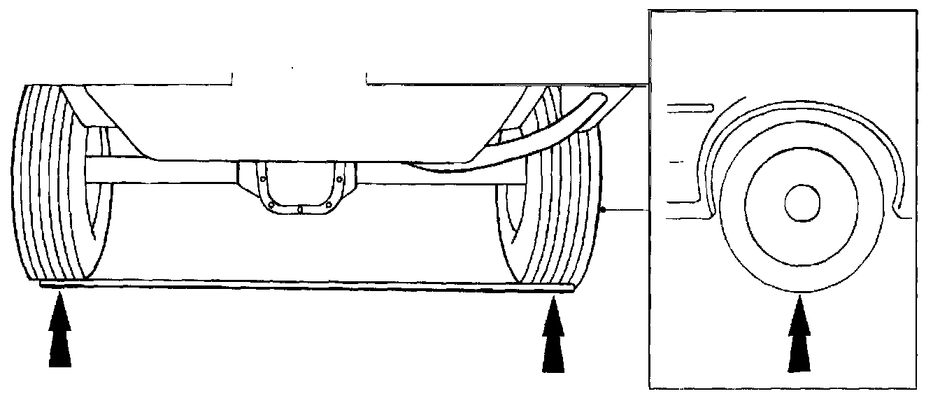
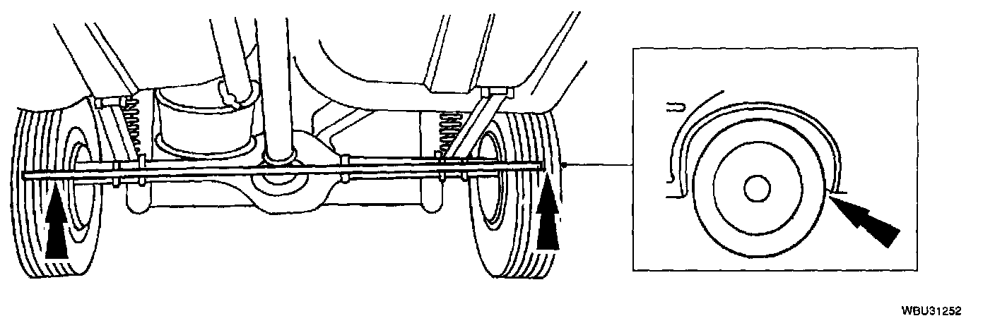
Axle Bent Axle Housing Inspection-Rear

AXLE BENT AXLE HOUSING INSPECTION-REAR
1. Raise and support the vehicle. Allow the rear axle to be freely suspended.





2. Use white chalk or paint to mark a vertical line on the center of each rear tire.





3. Adjust both wheels so that the markings face the front of the vehicle. With a tape measure, measure the distance between the marks and record this reading (front reading).





4. Rotate the rear wheels so the markings are directly underneath the vehicle. Measure the distance between the marks and record this reading (bottom reading).





5. Rotate the rear wheels so the markings face the rear of the vehicle. Measure and record the distance between the marks (rear reading).
6. Compare the front and the rear readings (Steps 3 and 5) to find the toe-in or toe-out condition.
^ Toe-in occurs when the front measurement is less than the rear measurement.
^ Toe-out occurs when the rear measurement is less than the front measurement.
7. To determine camber, find the average of the front and the rear measurements (Steps 3 and 5). Subtract the bottom reading (Step 4) from this number.
^ Positive (+) camber is when the bottom reading is less than the average of the front and rear readings.
^ Negative (-) camber is when the bottom reading is greater than the average of the front and rear readings.

Note:
^ The results of the calculations in Steps 6 and 7 must conform to the following specifications:
- Toe-in: 0 1/16 inch
- Toe-out: 0 3/16 inch
- Camber: 0 5/32 inch

8. If the axle housing does not meet these specifications, it must be replaced.
9. After the axle housing has been replaced, repeat Steps 2 through 7.