Operation CHARM: Car repair manuals for everyone.
Manuals through 2025 now available!

Our trusted friends have launched a new website named LEMON, which has newer manuals. It also contains all the CHARM manuals.

LEMON is the spiritual successor to CHARM, I recommend you try it!

Link: lemon-manuals.la or lemon-manuals.org.ua

(Some people have issue connecting. LEMON is investigating. For now, use Firefox or change your DNS server)

Or, hide this message: temporarily or permanently

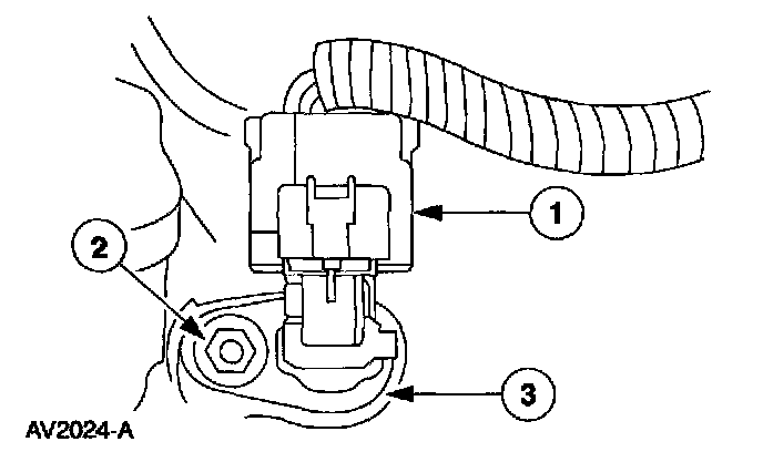
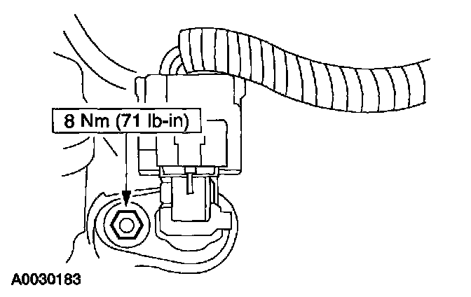
Camshaft Position Sensor: Service and Repair

CAMSHAFT POSITION (CMP) SENSOR REMOVAL/INSTALLATION

Removal and Installation







1. Remove the camshaft position (CMP) sensor.
1. Disconnect the electrical connector.
2. Remove the bolt.
3. Remove the sensor.

2. To install, reverse the removal procedure.