Operation CHARM: Car repair manuals for everyone.
Manuals through 2025 now available!

Our trusted friends have launched a new website named LEMON, which has newer manuals. It also contains all the CHARM manuals.

LEMON is the spiritual successor to CHARM, I recommend you try it!

Link: lemon-manuals.la or lemon-manuals.org.ua

(Some people have issue connecting. LEMON is investigating. For now, use Firefox or change your DNS server)

Or, hide this message: temporarily or permanently

Timing Chain: Service and Repair

TIMING CHAIN REMOVAL / INSTALLATION-4.0L
1. Remove the valve covers.
2. Remove the intake manifold.
3. Remove the fuel supply manifold.
4. Remove the accessory drive belt.
5. Remove the thermostat housing.
6. Remove the valve tappets.

Note:
^ You must retime the LH and RH camshafts when either camshaft is disturbed.





7. Turn the crankshaft clockwise to position the number one cylinder at TDC using ST.

Note:
^ The special tool must be installed on the damper and should contact the engine block, this positions the engine at top dead center (TDC).

8. Install the special tool with the adapter 303-575 or equivalent.

Caution:
^ The right-hand camshaft sprocket bolt is a left-hand threaded bolt.





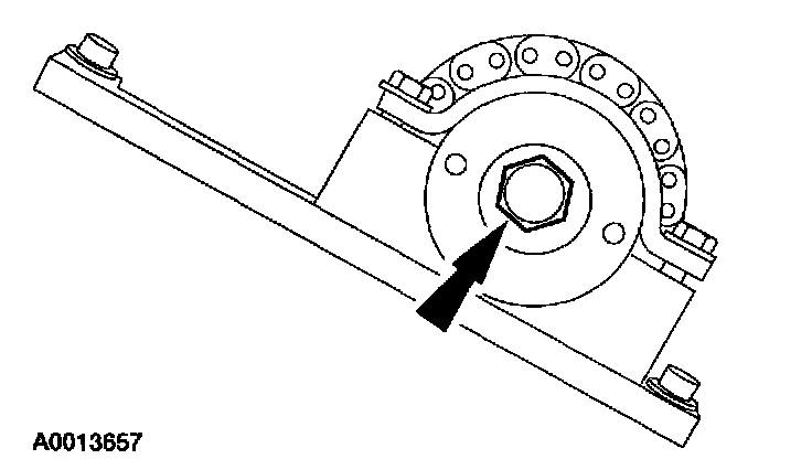
9. Using the special tool, loosen the RH camshaft sprocket bolt.

Note:
^ The camshaft timing slots are off-center.

10. Position the camshaft timing slots below the centerline of the camshaft to correctly fit the special tools and install the special tools on the front of the RH cylinder head.
11. Raise and support the vehicle.





12. Remove the RH wheel and tire.
13. Remove the RH lower splash shield.





14. Remove the RH camshaft tensioner.





15. Lower the vehicle.

Note:
^ Leave the top two special tool clamp bolts loose.





16. Install the special tools on the rear of the RH cylinder head.
17. Install the RH camshaft chain tensioner, but do not tighten.

Caution:
^ The right-hand camshaft sprocket bolt is a left-hand threaded bolt.





18. Tighten the bolts.
(1) Tighten the top of two clamp bolts of the special tool to 10 Nm (89 inch lbs.).
(2) Tighten the camshaft bolt.
19. Tighten the RH camshaft tensioner.





20. Raise the vehicle.
21. Install the RH lower splash shield.
22. Install the RH wheel and tire.
23. Lower the vehicle.





24. Remove the special tools from the RH cylinder head.





25. Remove the LH camshaft tensioner.





26. Install the special tools on the front of the LH cylinder head and tighten the top two clamp bolts to 10 Nm (89 inch lbs.).
27. Loosen the LH camshaft sprocket bolt.





28. Loosen the top two clamp bolts on the special tool to allow the camshaft sprocket to rotate freely.

Note:
^ The camshaft timing slots are off-center.





29. Position the camshaft timing slots below the centerline of the camshaft to correctly fit the special tools, and install the special tools on the rear of the LH cylinder head.





30. Install the LH camshaft chain tensioner, but do not tighten.





31. Tighten the bolts.
(1) Tighten the top two clamp bolts of the special tool to 10 Nm (89 inch lbs.).
(2) Tighten the camshaft bolt.
32. Tighten the LH camshaft tensioner.
33. Remove all of the special tools.
34. Install the valve tappets.
35. Install the thermostat housing.
36. Install the accessory drive belt.
37. Install the fuel supply manifold.
38. Install the intake manifold.
39. Install the valve covers.