Operation CHARM: Car repair manuals for everyone.
Manuals through 2025 now available!

Our trusted friends have launched a new website named LEMON, which has newer manuals. It also contains all the CHARM manuals.

LEMON is the spiritual successor to CHARM, I recommend you try it!

Link: lemon-manuals.la or lemon-manuals.org.ua

(Some people have issue connecting. LEMON is investigating. For now, use Firefox or change your DNS server)

Or, hide this message: temporarily or permanently

Timing Cover: Service and Repair

ENGINE FRONT COVER

Removal
1. Remove the RH and LH valve covers.
2. Remove the oil pan.
3. Remove the generator.





4. Remove the bolt and the camshaft position (CMP) sensor.
5. Lower the vehicle.
6. Position the power steering pump aside.
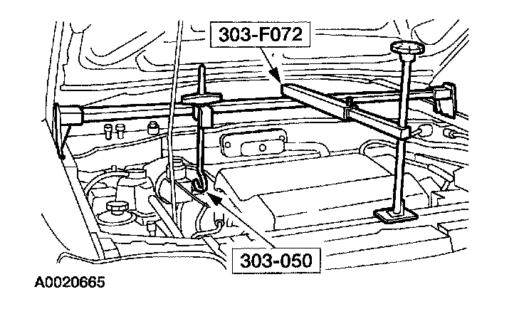
7. Install the front engine support insulator.





8. Remove the special tool.
9. Raise the vehicle.





10. Remove the bolt and remove the belt tensioner.
11. Remove the crankshaft pulley.





12. Remove the crankshaft position (CKP) sensor.
^ Disconnect the electrical connector.
^ Remove the bolt and the sensor.





Note:
^ Remove the engine front cover with the vehicle raised in the air.

13. Remove the bolts, studs and the engine front cover.

Installation

Caution:
^ Do not use metal scrapers, wire brushes, power abrasive discs or other abrasive means to clean the sealing surface. These tools cause scratches and gouges, which make leak paths. Use a plastic scraping tool to remove all traces of sealant.

1. Clean all sealing surfaces with Metal Surface Cleaner.
2. Install three new gaskets in the front cover.





Note:
^ The engine front cover must be installed and the bolts tightened within four minutes of applying the sealant.

3. Apply a 6 mm (0.24 inch) diameter dot of silicone gasket and sealer to the cylinder block, lower cylinder block, and cylinder head mating surfaces.





Note:
^ Fasteners No. 1, 3, 4, 8, 10, 11, 14, 15 and 16 are studs.

4. Position the cover and install the studs and bolts in the sequence shown.





5. Install the (CKP) sensor and connect the electrical connector.
6. Install the crankshaft pulley.





7. Install the tensioner and bolt.
8. Install the generator.
9. Install the oil pan.
10. Lower the vehicle.





11. Install the special tool.
12. Remove the front engine support insulator.
13. Install the power steering pump.
14. Install the RH and LH Valve cover.