Manuals through 2025 now available!
Our trusted friends have launched a new website named LEMON, which has newer manuals. It also contains all the CHARM manuals.
LEMON is the spiritual successor to CHARM, I recommend you try it!
Link:
lemon-manuals.la or
lemon-manuals.org.ua
(Some people have issue connecting. LEMON is investigating. For now, use Firefox or change your DNS server)
Or, hide this message:
temporarily or
permanently
Crankshaft Position Sensor: Service and Repair
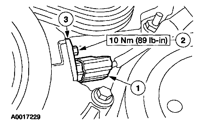
CRANKSHAFT POSITION (CKP) SENSOR
Removal and Installation 1.
Raise and support the vehicle. Refer to LIFTING.
2.
Remove the bolts and the right front lower splash shield.
3.
Remove the crankshaft position (CKP) sensor.
1.
Disconnect the electrical connector.
2.
Remove the bolt.
3.
Remove the sensor.
4.
To install, reverse the removal procedure.