Operation CHARM: Car repair manuals for everyone.
Manuals through 2025 now available!

Our trusted friends have launched a new website named LEMON, which has newer manuals. It also contains all the CHARM manuals.

LEMON is the spiritual successor to CHARM, I recommend you try it!

Link: lemon-manuals.la or lemon-manuals.org.ua

(Some people have issue connecting. LEMON is investigating. For now, use Firefox or change your DNS server)

Or, hide this message: temporarily or permanently

Part 2





29. Install the end cover to the transaxle case.
Tightening torque 19 - 25 Nm (1.9 - 2.6 kgf-m, 14 - 18 ft. lbs.)





30. Install the pawl return spring to the transaxle case.





31. Install the packing pawl and parking pawl shaft to the transaxle case.





32. Install the pawl return spring to the parking pawl and parking pawl shaft.





33. Install the support plate to the transaxle case.





34. Install the actuator plate to the transaxle case.
Tightening torque 10.8 - 13.7 Nm (110 - 140 kgf-cm, 95.5 - 121 inch lbs.)
35. Install the secondary gear and output gear.





36. Install the differential.





37. Install the forward clutch component.





38. Apply a light coat of silicone sealant to the contact surfaces of the converter housing and the transaxle case.





39. Install the converter housing.
Tightening torque 19 - 25 Nm (1.9 - 2.6 kgf-m, 14 - 18 ft. lbs.)





40. Install the SST into the differential side gears.
41. Apply ATF to the new O-ring and install it to the oil pump.





42. Install the oil pump.
Tightening torque 19 - 25 Nm (1.9 - 2.6 kgf-m, 14 - 18 ft. lbs.)





43. Install the parking rod lever component.
Tightening torque 19 - 25 Nm (1.9 - 2.6 kgf-m, 14 - 18 ft. lbs.)
44. Apply ATF to the new O-ring and install it to the manual shaft.
45. Install the manual shaft.





(1) Install the manual shaft to the manual plate and detent bracket component.





(2) Install the knock pin.





46. Install the accumulator component.








47. Install the coupler component.

Caution: Make sure that the head of the manual valve and the parking rod are assembled properly. If they are not, the ranges cannot be changed.





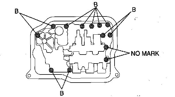
48. Install the control valve body
Tightening torque 7.8 - 10.8 Nm (80 - 110 kgf-cm, 69 - 95.5 inch lbs.)
Bolt length (measured from below the head)
B: 40 mm (1.575 inch)
No mark: 70 mm (2.756 inch)
49. Apply ATF to the new O-ring and install it to the oil strainer





50. Install the oil strainer.





51. Match the harness colors, then connect the solenoid connector and transaxle fluid temperature sensor





52. Install the ground.
Tightening torque 7.8 - 10.8 Nm (80 - 110 kgf-cm, 69 - 95.5 inch lbs.)

Warning: Using compressed air can cause dirt and other particles to fly out, causing injury to the eyes. Wear protective eye wear whenever using compressed air.

Caution:
^ Clean the transaxle exterior thoroughly with a steam cleaner or cleaning solvents before removal.
^ If any old sealant gets into the transaxle during installation of the oil pan, trouble may occur in the transaxle case and oil pan, and clean with cleaning fluids.





53. Apply a light coat of silicone sealant to the contact surfaces of oil pan and transaxle case
54. Install the oil pan.
Tightening torque 5.9 - 7.8 Nm (60 - 80 kgf-cm, 53 - 69 inch lbs.)
55. Install the oil pipe.
Tightening torque 24 - 35 Nm (2.4 - 3.6 kgf-cm, 18 - 26 inch lbs.)
56. Apply ATF to the new O-ring and install it to the vehicle speed sensor
57. Install the vehicle speed sensor.
Tightening torque 7.8 - 10.8 Nm (80 - 110 kgf-cm, 69 - 95.5 inch lbs.)
58. Apply ATF to the new O-ring and install it to the input/turbine speed sensor.
59. Install the oil pressure switch.
Tightening torque 17.1 - 22.1 Nm (1.75 - 2.25 kgf-m, 12.7 - 16.2 ft. lbs.)
60. Install the input/turbine speed sensor.
Tightening torque 7.8 - 10.8 Nm (80 - 110 kgf-cm, 69 - 95.5 inch lbs.)





61. Install the transaxle range switch.
(1) Rotate the manual shaft to the N position.








(2) Turn the protrusion a resistance between the terminals B and C become 750 ohms.





(3) Install the TR switch while aligning the protrusion and groove as shown.
(4) hand-tighten the TR switch mounting bolts.





(5) Inspect the resistance between the terminals B and C.
^ If not as specified, readjust the TR switch.
Resistance 750 ohms
(6) Tighten the TR switch mounting bolts
Tightening torque 8 - 11 Nm (82 - 112 kgf-cm, 71 - 97 inch lbs.)

Caution: Do not use an impact wrench. Hold the manual shaft lever when removing the manual shaft nut, or the transaxle may be damaged.





(7) Install the manual shaft lever and the washer.





(8) Set the adjustable wrench as shown to hold the manual shaft lever, and tighten the manual shaft nut.
Tightening torque 32 - 46 Nm (3.2 - 4.7 kgf-m, 24 - 33 ft. lbs.)
62. Remove the transaxle from the SST.
63. Apply ATF to the new O-ring and install it to the oil filler tube.
64. Install the oil dipstick and oil filler tube to the transaxle.
Tightening torque 7.8 - 10.8 Nm (80 - 110 kgf-cm, 69 - 95.5 inch lbs.)
65. Drain any ATF remaining in the torque converter.
66. Pour in solvent (approximately. 0.5 L (0.53 US qt. 0.44 Imp qt)),
67. Shake the torque converter to clean the inside.
68. Pour out the solvent.





69. Pour the ATF.
70. Install the torque converter by aligning its gap to the oil pump inner rotor gap as shown in the figure.





71. To ensure that the torque converter is installed accurately, measure distance A between the end of the torque converter and the end of the converter housing.
Distance A
Mazda 3: 31.4 mm (1.24 inch)
Mazda 6: 21.4 mm (0.84 inch)