Operation CHARM: Car repair manuals for everyone.
Manuals through 2025 now available!

Our trusted friends have launched a new website named LEMON, which has newer manuals. It also contains all the CHARM manuals.

LEMON is the spiritual successor to CHARM, I recommend you try it!

Link: lemon-manuals.la or lemon-manuals.org.ua

(Some people have issue connecting. LEMON is investigating. For now, use Firefox or change your DNS server)

Or, hide this message: temporarily or permanently

Oil Pan: Service and Repair



Engine Oil Pan Removal/Installation

The content of this article/image reflects the changes identified in TSB 01-013/09.





REPAIR PROCEDURE

Removal

1. Write down the customer's radio station presets.
2. Install fender cover to avoid damage on the fenders.
3. Disconnect the battery cables.
4. Remove the battery (A), battery tray and air cleaner (B) from the engine compartment.






5. Loosen the bolts on the brackets (A) for the engine harness.

NOTE: This step is to gain access to the bolts securing the engine and transmission.






6. Remove the insulators for the exhaust manifold.

NOTE: This step is to gain access to the bolts securing the engine and transmission.






7. Lift the vehicle up.
8. Remove the front right-side tire.
9. Remove the under cover and right side splash shield
10. Remove the A/C drive belt.
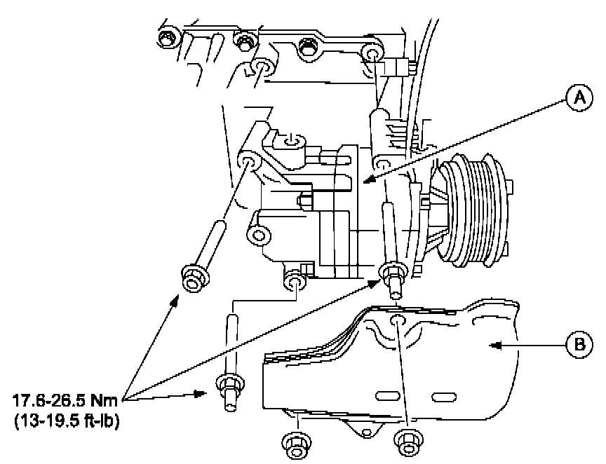
11. Remove the A/C compressor (A) after removing the protector (B).






12. Using a 17 mm wrench, remove the drain plug (A) from the oil pan and drain the engine oil.

NOTE: After draining the engine oil, replace the drain plug washer with a new one and tighten the plug. Wipe off the oil from around the plug.

Tightening Torque: 30-40 N.m (22.13-29.5 ft-lb)






13. Remove the A/T oil cooler (A) on vehicles with automatic transaxle.






14. Before loosening the bolts securing the engine and transmission, put a mark each transaxle bolt and the transaxle (so you can determine when they have been turned one full turn), then loosen the bolts one full turn (360 degrees).

NOTE: Loosen the bolts from the top of the transmission to the bottom.

CAUTION: DO NOT loosen the bolts more than one turn (360 degrees), or the transaxle may get damaged.

Letters are for orientation of the block diagram only.

A: Front Cover
B: Engine
C: Oil Pan
D: Transaxle
E: Bolts






15. Remove the four bolts that secure the front cover to the oil pan.






16. Remove the other bolts from the oil pan.

CAUTION: Insert a flat screwdriver, but DO NOT insert it too deeply, otherwise the rear seal will get damaged.






Installation

NOTE: The thickness of liquid gasket tends to be thin because the clearance between the oil pan and the transmission and the front cover and transmission is almost zero during oil pan reinstallation. Allow 3 mm space maximum between the engine and transmission with the transaxle bolts loosened one full before reinstalling the oil pan.

Letters are for orientation of the block diagram only.

A: Front Cover
B: Engine
C: Oil Pan
D: Transaxle






1. Clean the location where liquid gasket will be applied.

2. Using a scraper or a similar tool, completely remove the gasket residue from the joint of cylinder block, front cover and oil pan.

NOTE: Do not allow the liquid gasket residue to enter the oil pan. Using cleaning fluid, completely remove the oil from the joint. Especially, be sure to completely remove oil and gasket residue from the corner section of the front cover and the cylinder block.






Recommended Cleaners:

ThreeBond 2706E
Marktec Supercheck Cleaner UR-ST
ThreeBond 6602T

3. Completely clean and remove any oil, dirt, sealant or other foreign material that may be adhering to the housing and oil pan.

CAUTION: When reusing oil pan installation bolts, clean any old sealant from the bolts. Using bolts with the old seal adhering could cause cracks in the housing.






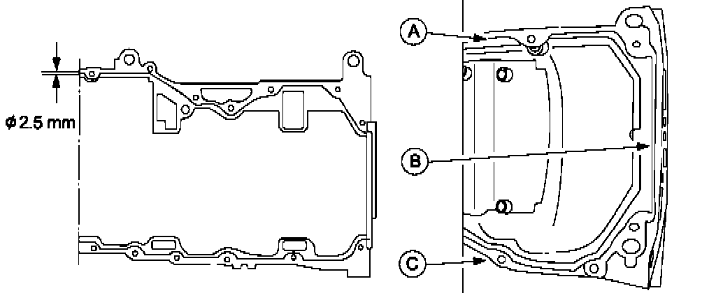
4. Apply liquid gasket (TB1217G) to the oil pan in a single, unbroken line around the whole perimeter of the oil pan as shown in the following illustrations.

NOTE: Install the oil pan within 10 minutes after applying the liquid gasket, otherwise the gasket material will get too hard and you will have to scrape the oil pan clean and apply the liquid gasket again.

a. Apply a 2.5 mm bead down the center of the sides of the oil pan (A).






b. Apply a 2.5 mm bead to the rear edge (B) of the oil pan (approximately 5mm from the rear edge).

c. Apply inside the bolt holes (C).

d. Apply liquid gasket to the front edge of the oil pan and to the front cover where the two pieces attach together.






e. Apply an ample amount to the front cover where the oil pan is fitted (A), and also apply an extra amount (a ball of approximately 5 mm in diameter) of liquid gasket to the corners of the front case and the cylinder block (B).






5. Install the oil pan on the cylinder block.






6. Install and tighten the oil pan bolts and front cover bolts as follows. The front of the engine is (F) and the rear of the engine is (R).

a. Install and tighten all oil pan bolts and the four front cover bolts 2 or 3 turns.

b. Install the front cover stud bolt directly under the crank pulley lock bolt.

c. Tighten the No. 6, No. 7, No. 8 and No. 9 oil pan bolts to 17.0-23.0 N.m (12.5-17 ft-lb).

d. Then loosen the No. 6, No. 7, No. 8 and No. 9 oil pan bolts by turning counterclockwise 180 degrees.

e. Tighten the 4 front cover bolts to 8.0-11.5 N.m (5.9-8.5 ft-lb) in the order shown.

f. Tighten the 13 oil pan bolts to 17.0-23.0 N.m (12.5-17 ft-lb) in the order shown.






7. Tighten all the bolts securing the engine and transmission.

NOTE: Tighten the bolts from the bottom of the transmission to the top of the transmission.

Tightening torque: 37.3 � 52.0 N.m (27.5-38.3 ft-lb)

Letters are for orientation of the block diagram only.

A: Front Cover
B: Engine
C: Oil Pan
D: Transaxle
E: Bolts






8. Install the brackets for the engine harness.
9. Install the insulators for the exhaust manifold.
10. Install the A/T oil cooler on vehicles with automatic transaxle.
11. Install the A/C compressor and protector.
Tightening torque: 17.6 � 26.5 N.m (13-19.5 ft-lb)






12. Install the A/C drive belt.
13. Install the right side splash shield
14. Install the right front tire.
15. Add engine oil.

NOTE: Make sure that the oil filler cap is fitted properly.

16. Install the battery tray, battery and air cleaner.
17. Connect the battery cables.
18. Start the engine and let it reach normal operating temperature, then inspect for oil leakage around the oil pan.
19. Stop the engine and wait for 5 minutes., then check the oil level using the oil level gauge. If it is not adequate, add some more oil.
20. Install the under cover.
21. Enter the customer's radio station presets.