Operation CHARM: Car repair manuals for everyone.
Manuals through 2025 now available!

Our trusted friends have launched a new website named LEMON, which has newer manuals. It also contains all the CHARM manuals.

LEMON is the spiritual successor to CHARM, I recommend you try it!

Link: lemon-manuals.la or lemon-manuals.org.ua

(Some people have issue connecting. LEMON is investigating. For now, use Firefox or change your DNS server)

Or, hide this message: temporarily or permanently

Brake Pedal Assy: Testing and Inspection

BRAKE PEDAL INSPECTION
Brake Pedal Height Inspection





1. Verify that the distance from the insulator to the center of the upper surface of the pedal pad is as specified.
Pedal height (reference value) 187 mm (7.36 inch)

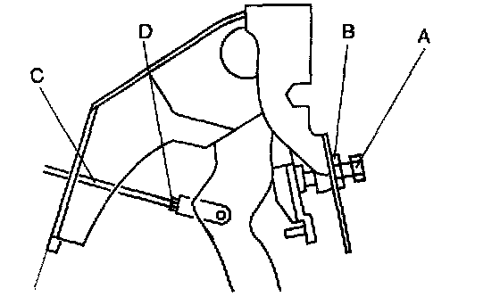
Brake Pedal Height Adjustment





1. Loosen locknut B and turn the bolt A until it does not contact the pedal.
2. Loosen locknut D and turn rod C to adjust the height.
3. Tighten the bolt with locknut B.
Tightening torque 9.8 - 14.7 Nm (100 - 149 kgf-cm, 116 - 130 inch lbs.)
4. After adjustment, inspect the pedal play and the brake light operation.

Brake Pedal Play Inspection
1. Depress the pedal a few times to eliminate the vacuum in the system.
2. Remove the spring pin, verify that the holes in the fork and in the pedal are aligned, and reinstall the pin.
3. Gently depress the pedal by hand until resistance is felt, and check the pedal play.
Pedal play 0 - 3 mm (0 - 0.1 inch)

Brake Pedal Play Adjustment





1. Remove the spring pin and clevis pin.
2. Loosen locknut D and turn rod C to align the holes in the fork and in the pedal.
3. Install the clevis pin and the spring pin.
4. Tighten locknut D.
Tightening torque 15.7 - 21.6 Nm (1.60 - 2.20 kgf-cm, 11.6 - 15.9 ft. lbs.)
5. Check the pedal height and the brake light operation.

Pedal-to-floor Clearance Inspection





1. Start the engine and depress the brake pedal with a force of 588 N (60 kgf, 132 lbs.)
2. Verify that the distance from the floor panel to the pedal pad center is as specified when the pedal is depressed.
^ If the distance is less than specified, check for air in brake system.
Specification 68 mm (2.7 inch) minimum