Operation CHARM: Car repair manuals for everyone.
Manuals through 2025 now available!

Our trusted friends have launched a new website named LEMON, which has newer manuals. It also contains all the CHARM manuals.

LEMON is the spiritual successor to CHARM, I recommend you try it!

Link: lemon-manuals.la or lemon-manuals.org.ua

(Some people have issue connecting. LEMON is investigating. For now, use Firefox or change your DNS server)

Or, hide this message: temporarily or permanently

Cylinder Block (I) Assembly

CYLINDER BLOCK (I) ASSEMBLY





1. Assemble in the order indicated in the table.

Main Bearing Cap Assembly Note





1. Install the main bearing caps in the order indicated in the figure.
Tightening torque
1 44 - 46 Nm {4.5 - 4.6 kgf-m, 32.5 - 33.9 ft. lbs.}
2 175° - 185°

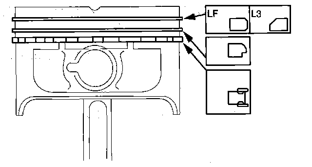
Piston Ring Assembly Note





1. Install the two oil control ring segments and spacer.
2. Verify that the second ring is installed with scraper face side downward.
3. Verify that the top ring is installed with scraper face side inner of upper.

Piston Assembly Note





1. Position the end gap of each ring as indicated in the figure.





2. Insert the piston and connecting rod into the cylinder with the arrow mark to front of the engine.

Connecting Rod Bearing Assembly Note





1. Install the connecting rod bearing to the connecting rod and connecting rod caps, as shown in the figure.

Connecting Rod Cap Assembly Note

Caution
- When assembling the connecting rod caps, align the broken, rough faces of the connecting rods and connecting rod caps.

1. Tighten the connecting rod bolts in two steps using the SST (49 D032 316).
Tightening torque
1 26 - 32 Nm {2.7 - 3.2 kgf-m, 19.2 - 23.6 ft. lbs.}
2 80° - 100°

Balancer Unit Assembly Note
1. Confirm by visual inspection that there is no damage to the balancer unit gear and verify that the shaft turns smoothly.
- If there is any damage or malfunction, replace the balancer unit.

Caution
- Due to the precision interior construction of the balancer unit, it cannot be disassembled.





2. Install the SST as shown in the figure.
3. Turn the crankshaft clockwise the crankshaft is in the No.1 cylinder TDC position (until the balance weight is attached to the SST).
4. Install the adjustment shim to the seat face of the balancer unit.





5. With the balancer unit marks at the exact top center, assemble the unit to the cylinder block.





6. Set the SST as shown, then measure the gear backlash using a dial gauge.





Note
- For an accurate measurement of gear backlash, insert a screwdriver into the crankshaft No. 1 balance weight area and set both the rotation and the thrust direction with the screwdriver, using a prying action, as shown in the figure.
- If the backlash exceeds the specified range, remeasure the backlash and, using the adjustment shim selection table, select the proper shim, according to the following procedure.

Caution
- When measuring the backlash, rotate the crankshaft one full rotation and verify that it is within the specified range at all of the following six positions: 10°, 30°,100°,190°, 210°, 280° ATDC.

Value range 0.005 - 0.101 mm {0.00019 - 0.0039 inch}
1 Using master adjustment shim (No.50), assemble the balancer unit to the cylinder block, then measure the backlash.
2 Select the proper adjustment shim according to the measured value.
3 Install the selected adjustment shim to the balancer unit, then assemble the balancer unit to the cylinder block.





Adjustment shim selection table