Operation CHARM: Car repair manuals for everyone.
Manuals through 2025 now available!

Our trusted friends have launched a new website named LEMON, which has newer manuals. It also contains all the CHARM manuals.

LEMON is the spiritual successor to CHARM, I recommend you try it!

Link: lemon-manuals.la or lemon-manuals.org.ua

(Some people have issue connecting. LEMON is investigating. For now, use Firefox or change your DNS server)

Or, hide this message: temporarily or permanently

Blower Motor: Service and Repair



BLOWER MOTOR REMOVAL/INSTALLATION

The content of this article reflects the changes identified in TSB 07-006/09

2003-2005 MAZDA6 - UPDATED BLOWER MOTOR REPLACEMENT PROCEDURE
(Is not applicable to MAZDASPEED6)

DESCRIPTION
The replacement parts for the blower motor have been updated. When servicing, a jumper harness (included with new blower motor part) will need to be installed to adapt the new motor to the old harness.

REPAIR PROCEDURE
If a blower motor replacement is needed for any reason, follow the repair procedure steps below.

1. Verify customer concern.
2. Record customer's pre-set radio stations.
3. Disconnect negative battery cable.
4. Remove glove compartment:
a. Open glove compartment.
b. Remove damper clip string from right side of glove compartment.





c. Press both sides of glove compartment inward until it releases from dash.





d. Hold glove compartment in a level position (not fully lowered).





e. Gently pull the glove compartment toward you until the hooks come loose.

NOTE: DO NOT force the glove compartment loose; the hooks can be easily broken. The glove compartment will not come out if held too low or too high. When held in a level position, the glove compartment will come out easily.

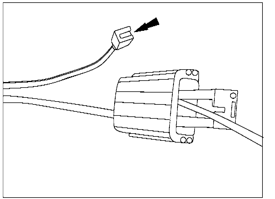
5. Disconnect blower motor electrical connector.
6. Remove four (4) retaining screws; remove blower motor.





7. Install new blower motor with four (4) retaining screws.
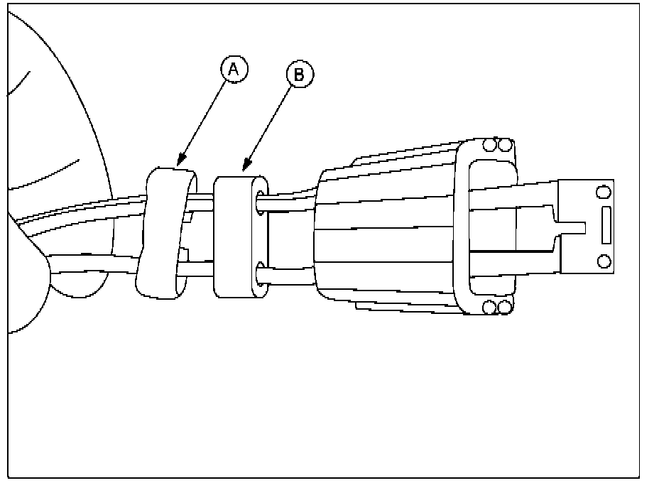
8. Remove harness connector retainer (A) and rubber insulator (B).





9. Remove terminals from harness motor connector.





10. Install harness terminals in provided connector.

NOTE: Check the terminal installation by pulling on the harness while holding the hard shell.





11. Install jumper harness (included with new blower motor part) between blower motor and harness.
12. Tuck surplus harness around upper location (A).
13. Tie surplus harness (B) with existing fixed harness using zip tie.





14. Retain excess harness to dash harness with tie provided.
15. Reinstall glove box.
16. Re-connect negative battery cable.
17. Re-enter customer's pre-set radio stations.
18. Verify repair.