Operation CHARM: Car repair manuals for everyone.
Manuals through 2025 now available!

Our trusted friends have launched a new website named LEMON, which has newer manuals. It also contains all the CHARM manuals.

LEMON is the spiritual successor to CHARM, I recommend you try it!

Link: lemon-manuals.la or lemon-manuals.org.ua

(Some people have issue connecting. LEMON is investigating. For now, use Firefox or change your DNS server)

Or, hide this message: temporarily or permanently

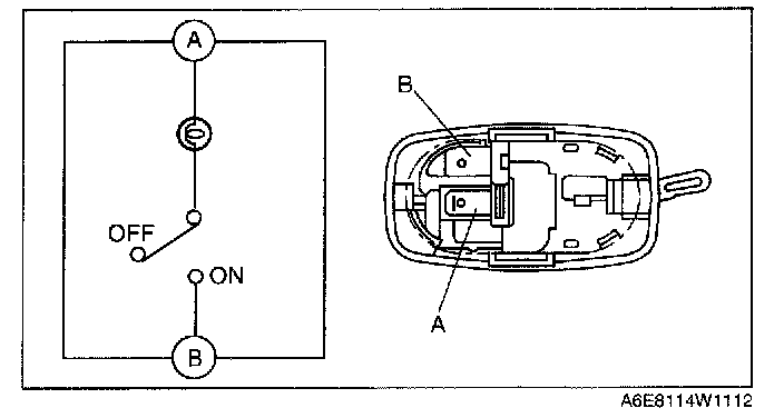
Cargo Lamp: Testing and Inspection

CARGO COMPARTMENT LIGHT INSPECTION [5HB, WGN]

5HB

1. Remove the cargo compartment light.







2. Inspect for continuity between' the cargo compartment light terminals using an ohmmeter.
- If not as specified, replace the cargo compartment light.

WGN

1. Remove the cargo compartment light.







2. Inspect for continuity between the cargo compartment light terminals using an ohmmeter.
- If not as specified replace the cargo compartment light.