Operation CHARM: Car repair manuals for everyone.
Manuals through 2025 now available!

Our trusted friends have launched a new website named LEMON, which has newer manuals. It also contains all the CHARM manuals.

LEMON is the spiritual successor to CHARM, I recommend you try it!

Link: lemon-manuals.la or lemon-manuals.org.ua

(Some people have issue connecting. LEMON is investigating. For now, use Firefox or change your DNS server)

Or, hide this message: temporarily or permanently

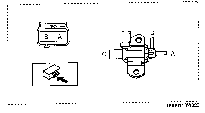
Variable Tumble Control Solenoid Valve Inspection

VARIABLE TUMBLE CONTROL SOLENOID VALVE INSPECTION

1. Remove the variable tumble control solenoid valve. (See INTAKE-AIR SYSTEM REMOVAL/INSTALLATION.)







2. Inspect airflow between the ports under the following conditions.
- If not as specified, replace the variable tumble control solenoid valve.
- If as specified, carry out the "Circuit Open/Short Inspection".

Circuit Open/Short Inspection
1. Disconnect the PCM connector. (See PCM REMOVAL/INSTALLATION.




2. Inspect the following wiring harness for open or short circuit (continuity check).

Open circuit
- If there is no continuity, there is an open circuit. Repair or replace the harness.
- Variable tumble control solenoid valve terminal B (harness-side) and PCM terminal 4T
- Variable tumble control solenoid valve terminal A (harness-side) and main relay terminal C (harness-side)

Short circuit
- If there is continuity, there is a short circuit. Repair or replace the harness.
- Variable tumble control solenoid valve terminal B (harness-side) and body GND
- Variable tumble control solenoid valve terminal A (harness-side) and power supply