Engine - Unstable Idle/Engine Stalling
Bulletin No: 01-007/09Last Issued: 02/11/2009
Subject:
UNSTABLE IDLING/ENGINE STALLS JUST AFTER STOPPING
APPLICABLE MODEL(S)/VINS
2003-2009 Mazda6 with 2.3L/2.5L (including Mazdaspeed6)
2004-2009 Mazda3 (including Mazdaspeed3)
2006-2009 Mazda5
2006-2009 Mazda MX-5
2007-2009 Mazda CX-7
DESCRIPTION
Some vehicles may exhibit a concern of unstable idling or, in some rare cases, stalling, just after the vehicle stops with no DTCs detected. The problem is due to the accumulation of carbon deposits inside the throttle body causing air flow to decrease.
Customers having this concern should have their vehicle repaired using the following repair procedure and the Workshop Manual.
REPAIR PROCEDURE
1. Verify customer concern.
2. Remove the throttle body.
a. Write down the customer's radio station presets.
b. Disconnect the battery terminals.
c. Remove the air hose from the throttle body.
d. Disconnect the throttle body connector.
e. Remove the throttle body from the intake manifold with the water hose connected.
3. Clean the throttle body.
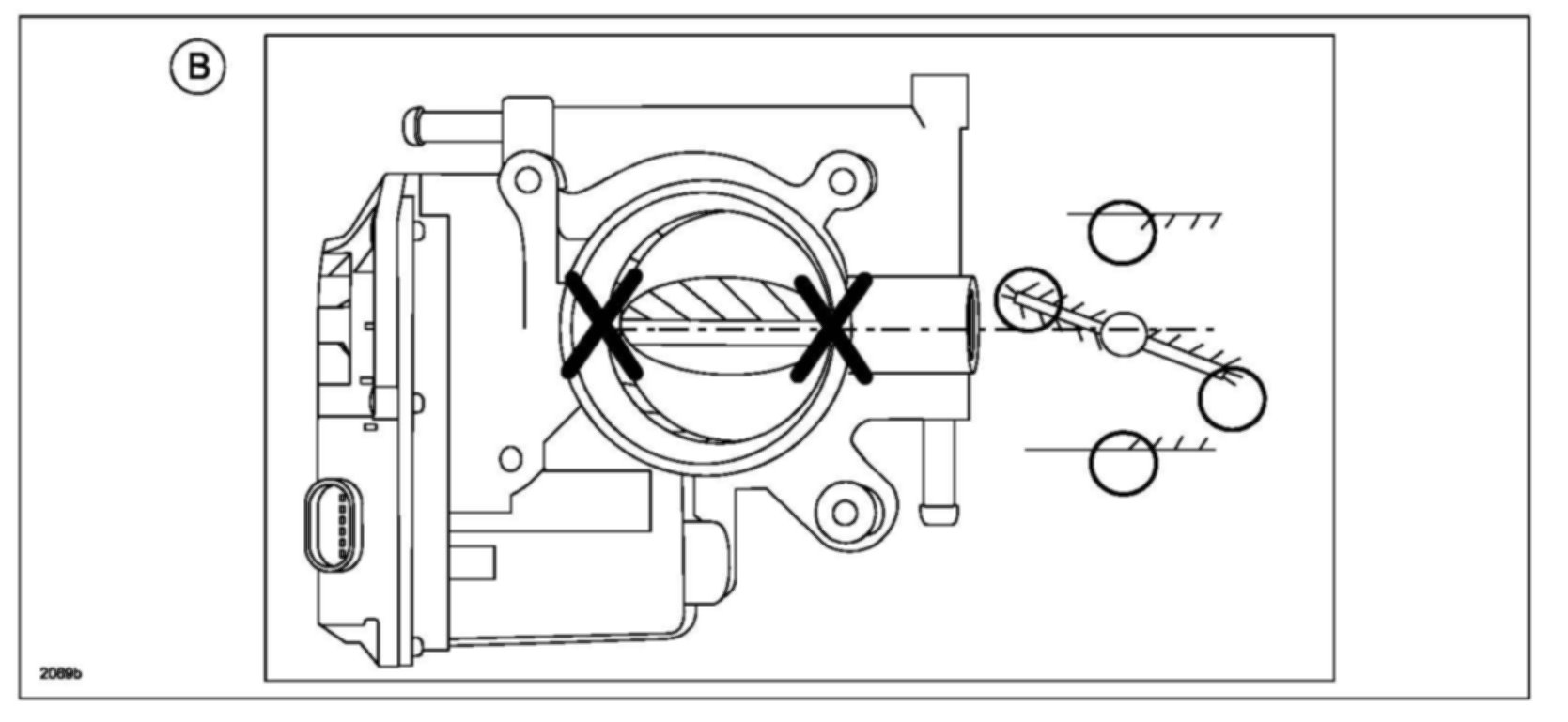
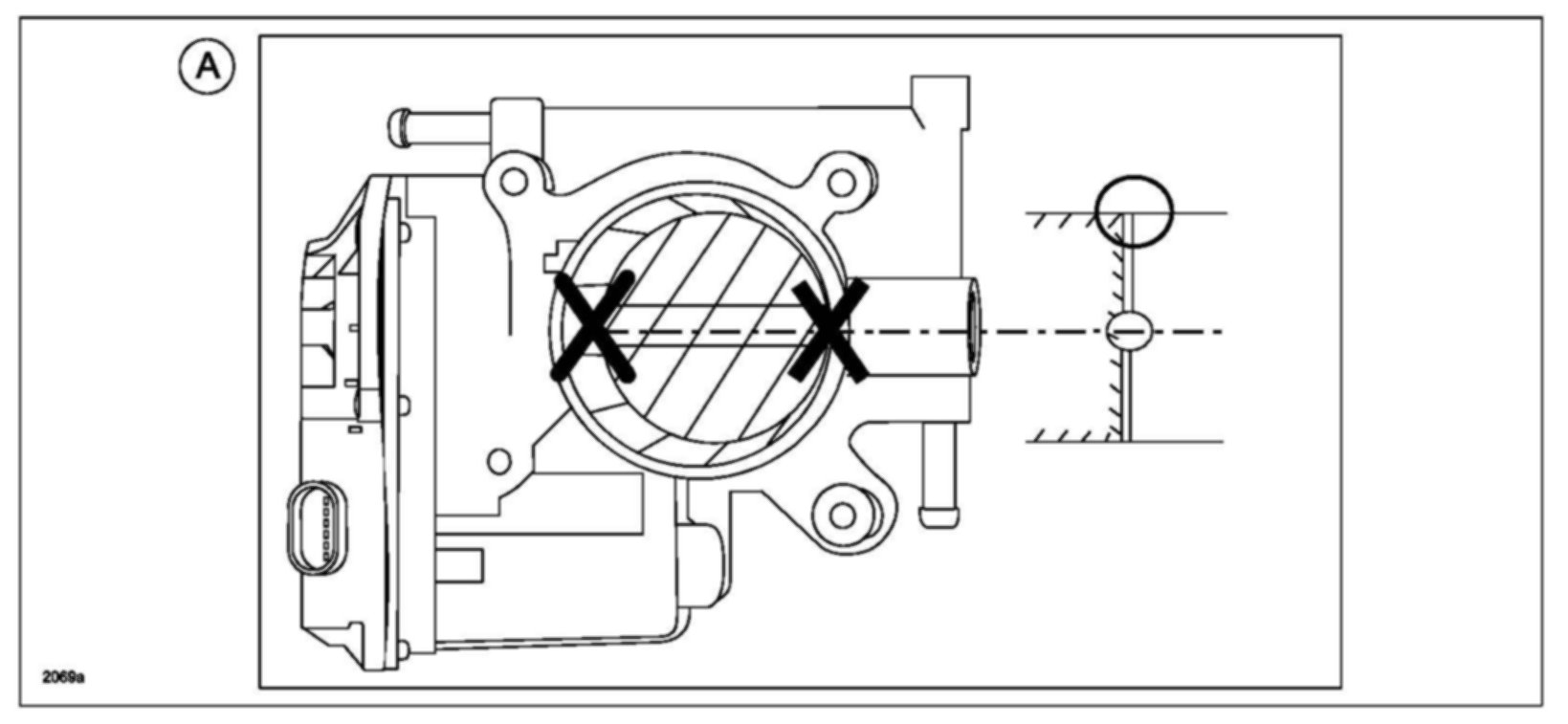
a. Clean the inside throttle body on the air hose side using a clean and soft shop cloth sprayed with engine cleaner (part number 000-77-A86) along the cross hatch areas, and especially around the circled areas as shown.
CAUTION:
DO NOT spray the cleaner directly inside the throttle body and DO NOT wipe around the throttle valve shaft shown with an X.
b. Turn the throttle body to clean it at the intake manifold side.
c. Clean the throttle with the throttle valve opened using the same shop cloth and cleaner.
WARNING:
Be careful not to pinch your fingers in the throttle valve when it is opened because the valve will close automatically from spring tension.
CAUTION:
DO NOT spray the cleaner directly inside the throttle body and DO NOT wipe around the throttle valve shaft shown with an X.
d. Make sure there is no foreign material inside the throttle body.
4. Re-install the throttle body using a new gasket.
5. Connect the battery cables.
6. Perform the throttle valve position learning and idling engine rpm inspection.
a. Connect the M-MDS.
b. Turn the ignition to ON without starting the engine for one minute, then turn it to OFF.
c. After one minute has passed, start the engine.
d. Warm up the engine at idling until the cooling fan starts operating or until the coolant temperature reaches 194°F (90°C) or higher.
e. Turn off any electrical load, including the A/C, with the shifter in Neutral or Park position.
f. Let the engine run for five minutes.
g. Measure the engine rpm at idle using the M-MDS to confirm it is within specification according to the Workshop Manual.
7. Verify repair.
8. Enter the customer's radio station presets.
9. Perform "Power Window Initialization Procedure" on vehicles with AUTO UP/AUTO DOWN windows.
10. Inform customers with vehicles with memory seats that the memory positions will need to be set again to their desired positions because the battery was disconnected.
PART(S) INFORMATION
WARRANTY INFORMATION