Operation CHARM: Car repair manuals for everyone.
Manuals through 2025 now available!

Our trusted friends have launched a new website named LEMON, which has newer manuals. It also contains all the CHARM manuals.

LEMON is the spiritual successor to CHARM, I recommend you try it!

Link: lemon-manuals.la or lemon-manuals.org.ua

(Some people have issue connecting. LEMON is investigating. For now, use Firefox or change your DNS server)

Or, hide this message: temporarily or permanently

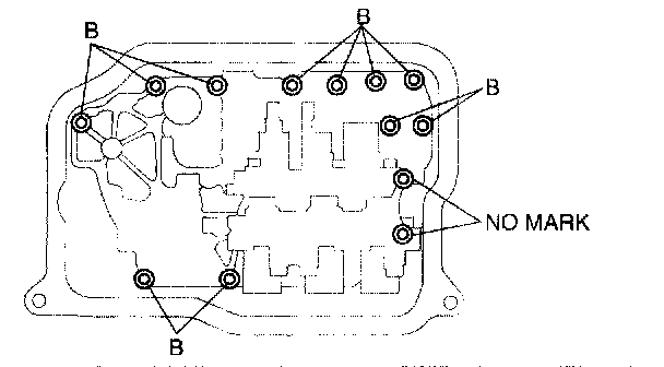
Control Valve Body Installation

CONTROL VALVE BODY INSTALLATION [FN4A-EL]





On-Vehicle Installation

Caution: Be sure to align the parking rod and the manual valve.








1. Install the accumulator springs and accumulators into the transaxle case.





2. Install the control valve body component.
Tightening torque 7.8 - 10.8 Nm (80 - 110 kgf-cm, 70 - 95 inch lbs.)
Bolt length (measured from below the head)
Mark B: 40 mm (1.575 inch)
No mark: 70 mm (2.756 inch)
3. Install the oil strainer.





4. Match the harness colors, then connect the solenoid connectors and GND, and install the TAT cover





5. Install the ground.
Tightening torque 8 - 11 Nm (82 - 112 kgf-cm, 71 - 97 inch lbs.)





6. Apply a light coat of silicon sealant (TB1217E) to the contact surfaces of the oil pan and transaxle case.
7. Install the oil pan.
Tightening torque 6 - 8 Nm (62 - 81 kgf-cm, 53 - 70 inch lbs.)
8. Install the crossmember.
9. Install the front tires and splash shield.
10. Install the under cover.
11. Connect the negative battery cable.
12. Add ATF and with the engine idling, inspect the ATF level.
13. Perform the mechanical system test.
14. Perform the road test.