Operation CHARM: Car repair manuals for everyone.
Manuals through 2025 now available!

Our trusted friends have launched a new website named LEMON, which has newer manuals. It also contains all the CHARM manuals.

LEMON is the spiritual successor to CHARM, I recommend you try it!

Link: lemon-manuals.la or lemon-manuals.org.ua

(Some people have issue connecting. LEMON is investigating. For now, use Firefox or change your DNS server)

Or, hide this message: temporarily or permanently

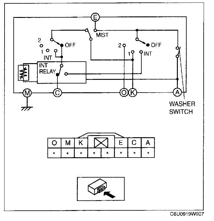
Windshield Washer Switch: Testing and Inspection

WIPER AND WASHER SWITCH INSPECTION

1. Remove the wiper and washer switch.







2. Inspect for continuity between the wiper and washer switch terminals using an ohmmeter
- If not as specified, replace the wiper and washer switch.