Operation CHARM: Car repair manuals for everyone.
Manuals through 2025 now available!

Our trusted friends have launched a new website named LEMON, which has newer manuals. It also contains all the CHARM manuals.

LEMON is the spiritual successor to CHARM, I recommend you try it!

Link: lemon-manuals.la or lemon-manuals.org.ua

(Some people have issue connecting. LEMON is investigating. For now, use Firefox or change your DNS server)

Or, hide this message: temporarily or permanently

Timing Chain: Service and Repair

TIMING CHAIN REMOVAL/INSTALLATION [AJ]








Warning:
- Fuel vapor is hazardous. It can very easily ignite, causing serious injury and damage. Always keep sparks and flames away from fuel.
- Fuel line spills and leakage are dangerous. Fuel can ignite and cause serious injures or death and damage. Fuel can also irritate skin and eyes. To prevent this, always complete the "Fuel Line Safety Procedure".


1. Disconnect the negative battery cable.
2. Remove the dynamic chamber.
3. Remove the ignition coils.
4. Remove the front drive belt.
5. Remove the P/S oil pump and bracket with the P/S pipe connected, and fix the P/S oil pump using a rope to prevent it from falling.
6. Remove the A/C compressor with the A/C pipe connected, and fix the A/C compressor using a rope to prevent it from falling.
7. Disconnect the generator, but do not remove it from the vehicle. After disconnection, fix the generator using a rope to prevent it from falling.
8. Remove the drive shaft (RH).
9. Remove the front crossmember.
10. Remove the TWC (LH).
11. Remove the, oil pan.
12. Remove in the order indicated in the table.
13. Install in the reverse order of removal.
14. Start the engine and:
- Inspect for the engine oil, engine coolant, transaxle oil and fuel leakage.
- Verify the ignition timing, idle speed and idle mixture.

15. Perform a road test.

Water Pump Drive Belt Pulley Removal Note





1. Replace part A of the SST [303-009 (49 UN30 3009)] with the SST [303-457 (49 UN30 3457)].




2. Remove the water pump pulley using the SSTs.

Camshaft Oil Seal Removal Note





1. Cut the oil seal lip using a razor knife.
2. Remove the oil seal using a screwdriver as shown.

Cylinder Head Cover (LH) Removal Note





1. Remove the cylinder head cover bolts in the order shown.

Engine Hanger Removal Note
1. Lift up the vehicle and loosen the engine hanger installation bolts from under the vehicle.

Cylinder Head Cover (RH) Removal Note





1. Remove the cylinder head cover bolts in the order shown.





2. Remove the oil control valve (OCV) with cylinder head cover raised as shown in the figure.

Note:
- Take care not to let the OCV tightening bolt slip into the timing chain cover when removing the OCV tightening bolt from engine front.

3. Remove the cylinder head cover,

No.3 Engine Joint Bracket Removal Note





1. Remove the ABS/TCS HU/CM connector.
2. Remove the dynamic chamber.
3. Using the bolts M12x1.25, length 25 mm (0.984 inch) to Install the SST as shown (LH bank and RH bank).





Tightening torque 100 - 125 Nm (10.2 - 12.7 kgf-m, 73.8 - 92.1 ft. lbs.)





4. Install the SST using the following procedure.

Caution:
- Refer to the SST instruction manual for the basic handing procedure.





1) Install the right rear shaft of the SST to the bolt of the right shock absorber as shown in the figure.
2) Install the left rear shaft of the SST to the bolt of the left shock absorber. (identical position to the right side)

Note:
- When setting the SST on the right side, make sure it doesn't interfere with the ABS (ABS/TCS) HU/CM or the DSC HU/CM.





3) Install the left/right front shaft of the SST with front foot No.2 to the bolt as shown in the figure.
If equipped
4) Adjust the positions of the SST side bars so that they are the same height (left and right) and horizontal.
5) Make sure each joint is securely tightened.





5. Support the engine using the SST.

Note:
- The SST (49 E01 7 5AO) can be used in place of the SST (49 CO 17 5AO).

6. Remove the No.3 engine joint bracket.

Crankshaft Pulley Lock Bolt Removal Note





1. Remove the A/C compressor with the pipes still connected.
2. Hold the crankshaft pulley using the SSTs.

Crankshaft Pulley Removal Note





1. Remove the crankshaft pulley using the SST.

Front Oil Seal Removal Note





1. Remove the front oil seal using a screwdriver as shown.

Engine Front Cover Removal Note





1. Remove the engine front cover bolts and studs in the order shown.

Timing Chain Component (RH) Removal Note





1. Rotate the crankshaft clockwise so that the crankshaft keyway is in the 3 o'clock position. (The camshafts (RH) are in the neutral position.)

Caution:
- Do not rotate the crankshaft counterclockwise. The timing chains may bind, causing engine damage.





2. Place alignment marks on the timing chain corresponding to each of the alignment marks on the timing sprocket.





3. Remove the timing chain (RH) in the following order.
1) Chain tensioner
2) Tensioner arm
3) Timing chain
4) Chain guide
5) Timing chain crankshaft sprocket

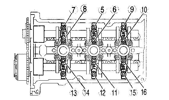
Camshaft Caps (RH) Removal Note





Caution:
- Remove the camshaft bearing thrust caps No. 1R and 5R first. Do not loosen any of the other bolts until the thrust caps are removed, or damage to the thrust caps may occur.

Note:
- Cylinder head and the camshaft bearing caps are numbered to make sure they are assembled in their original position. When removed, keep the bearing caps with the cylinder head from where they were removed together. Do not mix the caps.

1. Loosen bolts in several passes.

Note:
- Do not remove bolts completely.

2. Remove the RH camshaft thrust caps 1R and 5R.





3. Loosen the remaining bolts 7-8 turns in the indicated sequence in several passes to allow the camshafts (RH) to be slowly raised.

Timing Chain Component (LH) Removal Note





1. Rotate the crankshaft clockwise 1 and 2/3 turns until the keyway is in the 11 o'clock position.





2. Place alignment marks on the timing chain corresponding to each of the alignment marks on the timing sprocket.





3. Remove the timing chain (LH) in the following order.
1) Chain tensioner
2) Tensioner arm
3) Timing chain
4) Chain guide
5) Timing chain crankshaft sprocket

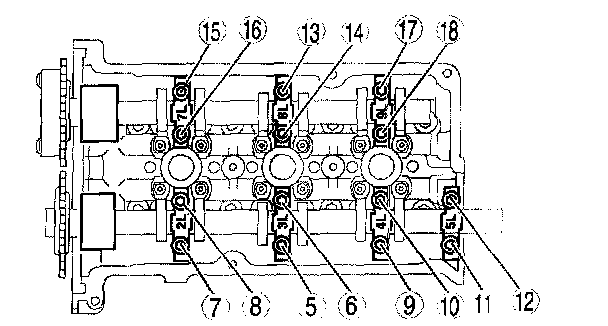
Camshaft Caps (LH) Removal Note





Caution:
- Remove the camshaft bearing thrust caps No. 1 Liters and 6L first. Do not loosen any of the other bolts until the thrust caps are removed, or damage to the thrust caps may occur.

Note:
- Cylinder head and the camshaft bearing caps are numbered to make sure they are assembled in their original position. When removed, keep the bearing caps with the cylinder head from where they were removed together. Do not mix the caps.

1. Loosen bolts in several passes.

Note:
- Do not remove bolts completely.

2. Remove the camshaft (LH) thrust caps 1L and 6L.





3. Loosen the remaining bolts 7 - 8 turns in the indicated sequence to allow the camshaft (LH) to rise.

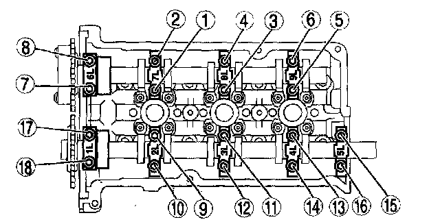
Timing Chain Component (LH) Installation Note





1. Verify that the crankshaft keyway is at 11 o'clock position.





2. Position the mark on the intake camshaft to 9 o'clock position.
3. Position the mark on the exhaust camshaft to 12 o'clock position.

Note:
- Install the timing chain by aligning the colored links on the timing chain with the marks on the timing sprockets.





4. Install the timing chain (LH) in the following order.
1) Timing chain crankshaft sprocket
2) Chain guide
3) Timing chain
4) Tensioner arm
5) Chain tensioner

Note:
- The chain guide should be installed to the actuator and allowed to hang freely when the bolts are installed. Do not hold the chain guide in an upward position when the bolts are installed. The actuator causes a wear 0ring and this installation method will allow that wear to continue.





Note:
- If timing marks in the timing chains are not evident, use a permanent-type marker to mark the crankshaft and camshaft timing marks on the timing chain.
1. Mark any link to use as the crankshaft timing mark.
2. Count 29 links from the crankshaft timing mark and mark as the exhaust camshaft sprocket timing mark.
3. Continue counting to 42 mark the link as the intake camshaft sprocket timing mark.

Caution:
- Install the camshaft journal thrust caps last, or damage to the thrust caps may occur.





5. Tighten the bearing caps evenly in the order shown in several passes.

Note:
- After adjusting the camshaft end play using the thrust caps 1L and 6L, tighten the other bearing caps.

Chain Tensioner (LH) Installation Note





1. Set the chain tensioner (LH) in a vise with jaw protectors.





2. Using a thin screwdriver, hold the chain tensioner (LH) ratchet lock mechanism away from the ratchet stem.

Note:
- The piston should retract with minimal force. If binding occurs, remove the tensioner from the vise and reset it in the vise.

3. Slowly compress the tensioner piston.





4. Hold the tensioner piston using a 1.5 mm (0.059 inch) wire or paper clip.





5. Install the chain tensioner (LH) and remove the retaining wire.

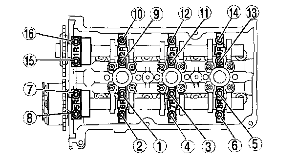
Timing Chain Component (RH) Installation Note





1. Rotate the crankshaft clockwise until the keyway is in the 3 o'clock position.





2. Position the mark on the exhaust camshaft to 12 o'clock position.
3. Position the mark on the intake camshaft to 3 o'clock position.

Note:
- Install the timing chain (RH) by aligning the colored links on the timing chain (RH) with the marks on the timing sprockets.





4. Install the timing chain (RH) in the following order.
1) Timing chain crankshaft sprocket
2) Chain guide
3) Timing chain
4) Tensioner arm
5) Chain tensioner

Note:
- The chain guide should be installed to the actuator and allowed to hang freely when the bolts are installed. Do not hold the chain guide in an upward position when the bolts are installed. The actuator causes a wear O-ring and this installation method will allow that wear to continue.





Note:
- If timing marks in the timing chains are not evident, use a permanent-type marker to mark the crankshaft and camshaft timing marks on the timing chain.
1. Mark any link to use as the crankshaft timing mark.
2. Count 29 links from the crankshaft timing mark and mark as the exhaust camshaft sprocket timing mark.
3. Continue counting to 42 mark the link as the- intake camshaft sprocket timing mark.

Caution:
- Install the camshaft journal thrust caps last, or damage to the thrust caps may occur.





5. Tighten the bearing caps evenly in several passes in the order shown.

Note:
- After adjusting the camshaft end play using the thrust caps 1 R and 5R, tighten the other bearing caps.

Chain Tensioner (RH) Installation Note





1. Set the chain tensioner (RH) in a vise with jaw protectors.





2. Using a thin screwdriver, hold the chain tensioner (RH) ratchet lock mechanism away from the ratchet stem.

Note:
- The piston should retract with minimal force. If binding occurs, remove the tensioner from the vise and reset it in the vise.

3. Slowly compress the tensioner piston.





4. Hold the tensioner piston using a 1.5 mm (0.059 inch) wire or paper clip.





5. Install the chain tensioner (RH) and remove the retaining wire.

Crankshaft Position (CKP) Sensor Pulse Wheel Installation Note





1. With the "FRONT" mark of the pulse wheel facing you, install the crankshaft position (CKP) sensor pulse wheel using the keyway on the same side as the empty space shown in figure.

Engine Front Cover Installation Note





1. Apply a 6 mm (0.24 inch) dot of silicone sealant at the indicated location.





2. Install the remaining bolts and studs, and then tighten all bolts and studs in the order shown.

Front Oil Seal Installation Note





1. Assemble the front oil seal using part A of the SST[303-335 (49 UN30 3335)] and the SST [303-102. (49 UN01 002)].
2. Apply clean engine oil to the oil seal.
3. Push the oil seal slightly in by hand.





4. Compress the oil seal using the SSTs.

Crankshaft Pulley Installation Note





1. Seal the keyway in the crankshaft pulley using silicone sealant.
2. Install the crankshaft pulley using the SST and the crankshaft pulley lock bolt washer.

Crankshaft Pulley Lock Bolt Installation Note





1. Hold the crankshaft pulley using the SSTs.
2. Tighten the new crankshaft pulley lock bolt in four steps.
1) Tighten to 120 Nm 112.2 kgf-m, 88.5 ft. lbs.).
2) Loosen 360° (one full turn) in reverse order.
3) Tighten to 47 - 53 Nm (4.8 - 5.4 kgf-m, 35 - 39 ft. lbs.).
4) Tighten 85° - 95°.
3. Install the A/C compressor.

Cylinder Head Cover (RH) Installation Note





1. Apply silicone sealant to the mating faces as shown.
2. Install the cylinder head cover with a new gasket.





3. Install the oil control valve (OCV) with cylinder head cover raised as shown in the figure.

Note:
- Take care not to let the OCV tightening bolt slip into the timing chain cover when Installing the OCV tightening bolt from engine front.

Tightening torque 8.0 - 12.0 Nm (82 - 122 kgf-cm, 71 - 106 inch lbs.)
4. Install the cylinder head cover.





5. Tighten the bolts in the order shown.

Engine Hanger Installation Note
1. Lift tip the vehicle and tighten the engine hanger installation bolts from under the vehicle.

Cylinder Head Cover Installation Note





1. Apply silicone sealant to the mating faces as shown.
2. Install the cylinder head cover with a new gasket.





3. Tighten the bolts in the order shown.

Camshaft Oil Seal Installation Note





1. Apply clean engine oil to the camshaft oil seal.
2. Install the camshaft oil seal using the SSTs.

Water Pump Drive Belt Pulley Installation Note





1. Install the water pump pulley using the SST.