Operation CHARM: Car repair manuals for everyone.
Manuals through 2025 now available!

Our trusted friends have launched a new website named LEMON, which has newer manuals. It also contains all the CHARM manuals.

LEMON is the spiritual successor to CHARM, I recommend you try it!

Link: lemon-manuals.la or lemon-manuals.org.ua

(Some people have issue connecting. LEMON is investigating. For now, use Firefox or change your DNS server)

Or, hide this message: temporarily or permanently

Torques & Sequences

ENGINE TIGHTENING TORQUES

Part 1:




Part 2:






CYLINDER HEAD BOLTS



Right Hand Side: Tighten the bolts in the order shown:




Left Hand Side: Tighten the bolts in the order shown:





Tighten the cylinder head bolts in the order shown using the following 6 steps.
1) Tighten to 32 - 38 Nm (3.3 - 3.8 kgf-cm, 24 - 28 ft. lbs.).
2) Tighten 85° - 95°.
3) Loosen 360° (one full turn) in reverse order.
4) Tighten to 32 - 38 Nm (3.3 - 3.8 kgf-cm, 24 - 28 ft. lbs.).
5) Tighten 85° - 95°.
6) Tighten 85° - 95°.

INTAKE MANIFOLD TORQUE
Torque: 8-12 Nm (72-106 ft lb)

INTAKE PLENUM (DYNAMIC CHAMBER) TORQUE
Torque: 8-12 Nm (72-106 ft lb)

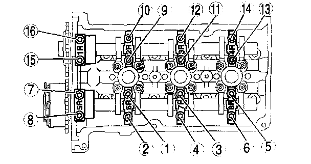
CAMSHAFT BEARING CAP TORQUE & SEQUENCE




Tighten the bearing caps evenly in several passes in the order shown

Torque: 8-12 Nm (71-106 in lb)

CRANKSHAFT PULLEY TORQUE







1. Tighten 120 Nm (12.2 kgf-cm, 88.5 ft. lbs.)
2. Loosen 360° (once full turn) in reverse order
3. Tighten to 47 - 53 Nm (4.8 - 5.4 kgf-cm, 35 - 39 ft. lbs.)
4. Tighten 85° - 95°


OIL PUMP TORQUE AND SEQUENCE




Tighten the oil pump bolts in the order shown.
Torque: 8 - 12 Nm (82 - 122 kgf-cm, 71 - 106 inch lbs.)

Tighten the oil strainer bolts
Torque: 8 - 12 Nm (82 - 122 kgf-cm, 71 - 106 inch lbs.)


EXHAUST MANIFOLD TORQUE & SEQUENCE




Tighten the exhaust manifold installation nuts in the order shown.
Torque: 19.1-25.9 Nm (2.0-2.6 kgf-m, 14-19 ft lb)


WATER PUMP TORQUE
Tighten the bolts to the specified torque
- Torque: 10 Nm (102 kgf-cm, 89 inch lbs.)
Then tighten them further 85° - 95°.