Operation CHARM: Car repair manuals for everyone.
Manuals through 2025 now available!

Our trusted friends have launched a new website named LEMON, which has newer manuals. It also contains all the CHARM manuals.

LEMON is the spiritual successor to CHARM, I recommend you try it!

Link: lemon-manuals.la or lemon-manuals.org.ua

(Some people have issue connecting. LEMON is investigating. For now, use Firefox or change your DNS server)

Or, hide this message: temporarily or permanently

System Specifications


Timing Chain Tensioner Torque





Crankshaft Pulley torque and sequence
Using the special tools to hold the crankshaft pulley in place, tighten the crankshaft pulley bolt in two stages.
Stage 1: Tighten to 100 Nm (10.2 kgf-cm, 74 lbs.)
Stage 2: Tighten an additional 90 degrees.


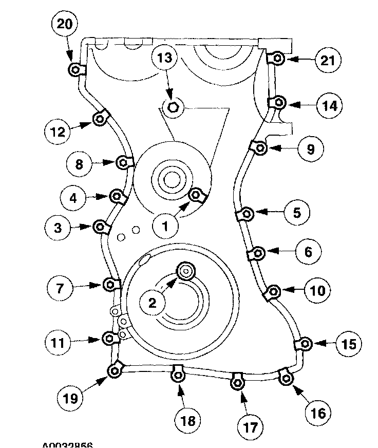
Timing Cover Torque & Sequence





Note:
^ This step is needed only if a new front cover is being installed.

1. Install the fan drive pulley using a nut and bolt with flat washers.
2. Clean and inspect the mounting surfaces of the engine and the front cover.

Caution:
^ Do not use metal scrapers, wire brushes, power abrasive discs or other abrasive means to clean the sealing surfaces These tools cause scratches and gouges which make leak paths.

Note:
^ The engine front cover must be installed and the bolts tightened within four minutes of applying the silicone gasket and sealant.





3. Apply a 2.5 mm bead of silicone gasket and sealant to the cylinder head and oil pan joint areas. Apply a 2.5 mm bead of silicone gasket and sealant to the front cover.





4. Install the front cover Tighten the bolts in the sequence, to the following specifications: Tighten the 8 mm bolts to 10 Nm (1 kgf-cm, 7 lbs.).
^ Tighten the 10 mm bolts to 25 Nm (2.5 kgf-cm, 18 lbs.).
^ Tighten the 13 mm bolts to 48 Nm (4.889 kgf-cm, 35 lbs.).