Operation CHARM: Car repair manuals for everyone.
Manuals through 2025 now available!

Our trusted friends have launched a new website named LEMON, which has newer manuals. It also contains all the CHARM manuals.

LEMON is the spiritual successor to CHARM, I recommend you try it!

Link: lemon-manuals.la or lemon-manuals.org.ua

(Some people have issue connecting. LEMON is investigating. For now, use Firefox or change your DNS server)

Or, hide this message: temporarily or permanently

Automatic Transmission/Transaxle: Service and Repair

AUTOMATIC TRANSMISSION REMOVAL / INSTALLATION
Removal Note

Note: If the transmission is to be removed for a period of time, support the engine with a safety stand and a wood block.

Note:
^ When the battery has been disconnected and reconnected, some abnormal drive symptoms can occur while the vehicle relearns its adaptive strategy. The customer needs to be notified that they may experience slightly different upshifts either soft or firm and this is a temporary condition and will eventually return to normal operating condition.

1. Disconnect the negative battery cable.
2. Place the selector lever in NEUTRAL position.
3. Raise and support the vehicle.
4. If transmission disassembly is required; drain the transmission fluid.
5. Vehicles equipped with 4X4, remove the transfer case.





6. To maintain initial propeller shaft balance, mark the propeller shaft yoke and axle flange, so they may be installed in their original positions.
7. Remove the four propeller shaft bolts.
8. Remove the propeller shaft.
9. Remove the starter motor.

Note:
^ On 2.3L engines, it may be necessary to gain access to the flexplate nuts through the wheel well.

Note:
^ Mark the torque converter and the flexplate for proper alignment at reinstallation.





10. Remove the four torque converter to flexplate nuts.
1) Rotate the crankshaft/flexplate assembly for access to all the torque converter nuts.





11. Disconnect the shift cable.
1) Disconnect the shift cable from the manual control lever.
2) Disconnect the shift cable from the bracket.





12. Remove the transmission wiring harness.
1) Disconnect the Heated Oxygen Sensor (HO2S) connector.
2) Disconnect the digital Transmission Range (TR) sensor connector.
3) Disconnect the transmission connector.





13. Remove the three-way catalytic converter. Remove the rear engine cover plate.

Caution:
^ Care should be taken not to damage the cooler lines.





14. Disconnect the transmission cooler lines.





15. Remove the transmission mount nuts.

Caution:
^ Do not allow the transmission to hang freely.

16. Position a jack under the transmission.
17. Raise and support the transmission.





18. Remove the transmission mount.
1) Remove the transmission mount to extension housing bolts.
2) Remove the transmission mount.





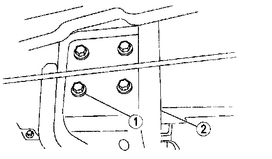
19. Remove the crossmember.
1) Remove the eight crossmember bolts (four each side).
2) Remove the crossmember.





20. Remove the transmission upper fill tube.
1) Remove the bolt.
2) Disconnect the transmission upper fill tube.





Note:
^ Lower the jack to gain access to the transmission to engine bolts.





21. Remove the lower screws.
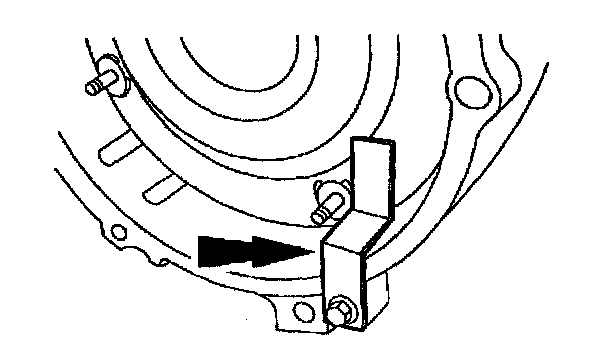
22. Remove the HO2S connector bracket from the transmission.





23. On 4x4 models remove the vent tube assembly.





24. Remove the six transmission to engine bolts.

Warning: The torque converter is heavy and may result in injury if it falls out of the transmission. Secure the torque converter in the transmission.





25. Install the torque converter holding tool T97-97902-A or equivalent before lowering the transmission from the vehicle.

Warning:
^ Secure the transmission to the transmission jack with a safety chain.


26. Lower the transmission.
27. Perform Transmission Fluid Cooler Back Flushing/Cleaning.

Installation Note
1. On 4x4 models install the vent tube assembly.

Warning:
^ Secure the transmission to the transmission jack with a safety chain.


2. Raise and position the transmission.





3. Remove the SST or equivalent.

Note:
^ Align the flexplate to converter marks made at removal.





4. Install seven transmission to engine bolts.





5. Install the upper fluid filler tube and bracket bolt.
1) Install the upper filler tube.
2) Install the bracket bolt.





6. Install the lower transmission to engine screws.





7. Install the HO2S connector bracket.
8. Install the rear engine cover plate.
9. If equipped, install the transfer case.
10. Install the catalytic converter assembly.





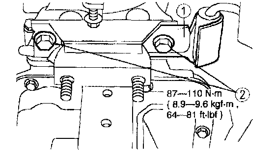
11. Install the (RH) transmission mount bolts.
1) Reposition the exhaust bracket.
2) Install the bolts.





12. Install the crossmember.
1) Position the crossmember.
2) Install the eight crossmember bolts (four each side).





13. Install the transmission mount into the crossmember and tighten the transmission mount nuts.
14. Remove the jack.

Caution:
^ Use care not to bend or otherwise damage the cooler lines.





15. Install the transmission cooler lines.





16. Install the four torque converter to flywheel nuts.
1) Rotate the crankshaft as needed to gain access to all the flywheel nuts.
17. Install the starter motor.





18. Install the transmission wiring harnesses.
1) Connect the heated oxygen sensor (HO2S) connector.
2) Connect the digital transmission range (TR) sensor connector.
3) Connect the transmission connector.





19. Install the shift cable.
1) Connect the shift cable to manual control lever.
2) Connect the shift cable to the bracket.

Note:
^ Align the propeller shaft yoke and the axle shaft marks made at removal to maintain driveline balance.





20. Align and install the rear propeller shaft.
21. Lower the vehicle.

Note:
^ When the battery has been disconnected and reconnected, some abnormal drive symptoms can occur while the vehicle relearns its adaptive strategy. The customer needs to be notified that they may experience slightly different upshifts either soft or firm and this is a temporary condition and will eventually return to normal operating condition.

22. Connect the negative battery cable.
23. Fill the transmission with fluid and inspect for proper operation.