Operation CHARM: Car repair manuals for everyone.
Manuals through 2025 now available!

Our trusted friends have launched a new website named LEMON, which has newer manuals. It also contains all the CHARM manuals.

LEMON is the spiritual successor to CHARM, I recommend you try it!

Link: lemon-manuals.la or lemon-manuals.org.ua

(Some people have issue connecting. LEMON is investigating. For now, use Firefox or change your DNS server)

Or, hide this message: temporarily or permanently

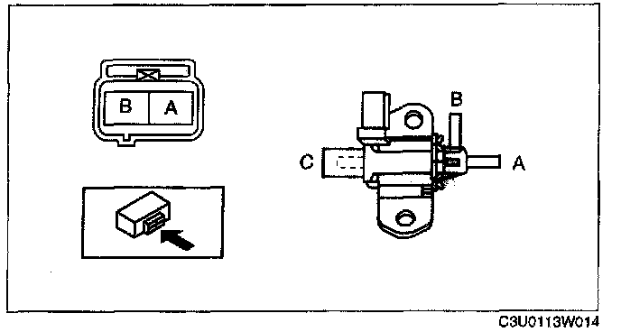
Variable Induction Control Solenoid: Testing and Inspection

VARIABLE INTAKE-AIR SOLENOID VALVE INSPECTION

1. Remove the variable intake-air solenoid valve.







2. Inspect airflow between the ports under the following conditions.
- If not as specified, replace the variable intake-air solenoid valve.
- If as specified, carry out the "Circuit Open/Short Inspection".

Circuit Open/Short Inspection




1. Disconnect the PCM connector.
2. Inspect the following wiring harness for open or short (continuity check).

Open circuit
- If there is no continuity, the circuit is open. Repair or replace the wiring harness.
- Variable intake-air solenoid valve terminal A and PCM terminal 2AJ
- Variable intake-air solenoid valve terminal B and main relay terminal A

Short circuit
- If there is continuity, the circuit is shorted. Repair or replace the wiring harness.
- Variable intake-air solenoid valve terminal B and body GND
- Variable intake-air solenoid valve terminal A and power supply