Operation CHARM: Car repair manuals for everyone.
Manuals through 2025 now available!

Our trusted friends have launched a new website named LEMON, which has newer manuals. It also contains all the CHARM manuals.

LEMON is the spiritual successor to CHARM, I recommend you try it!

Link: lemon-manuals.la or lemon-manuals.org.ua

(Some people have issue connecting. LEMON is investigating. For now, use Firefox or change your DNS server)

Or, hide this message: temporarily or permanently

Control Valve Body Removal

CONTROL VALVE BODY REMOVAL

On-Vehicle Removal

Warning: Using compressed air can cause dirt and other particles to fly out, causing injury to the eyes. Wear protective eyeglasses whenever using compressed air.

Caution:
^ Clean the transaxle exterior throughout with a steam cleaner or cleaning solvents before removal.
^ If any old sealant gets Into the transaxle during installation, of the all pan, trouble may occur In the transaxle case and oil pan. Clean with cleaning fluids.

1. Remove the battery duct and battery cover.
2. Disconnect the negative battery cable.
3. Drain the ATF into a separate suitable container.
4. Remove the under cover.
5. Remove the oil pan.
6. Disconnect the solenoid connectors and GND.





7. Remove the oil strainer.





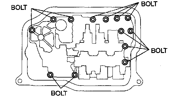
8. Remove the control valve body installation bolts as shown in the figure, then remove the control valve body component as shown in the figure.





9. Remove the accumulators and accumulator springs.