Operation CHARM: Car repair manuals for everyone.
Manuals through 2025 now available!

Our trusted friends have launched a new website named LEMON, which has newer manuals. It also contains all the CHARM manuals.

LEMON is the spiritual successor to CHARM, I recommend you try it!

Link: lemon-manuals.la or lemon-manuals.org.ua

(Some people have issue connecting. LEMON is investigating. For now, use Firefox or change your DNS server)

Or, hide this message: temporarily or permanently

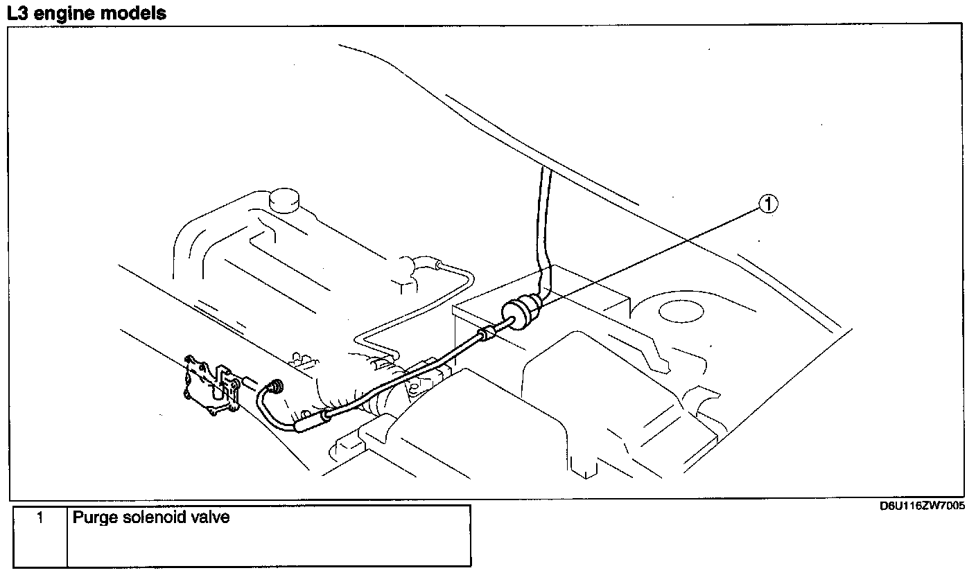
Evaporative Emissions System: Service and Repair

EVAPORATIVE EMISSION (EVAP) CONTROL SYSTEM COMPONENT REMOVAL/INSTALLATION

Engine Room Side




1. Remove in the order indicated in the table.
2. Install in the reverse order of removal.

Purge Solenoid Valve Installation Note







1. Install in the order indicated in the table.

Hose (purge solenoid valve) installation note




1. Fit the vacuum hose (purge solenoid valve) onto the respective fittings, and install clamps as shown.

Fuel Tank Side

1. Raise the rear of the vehicle and support it with safety stands.







2. Remove in the order indicated in the table.
3. Install in the reverse order of removal.

Charcoal Canister Removal Note

- Refer to the "Evaporative Hose Removal Note" to disconnect the evaporative hose (to the purge solenoid valve) from the charcoal canister. (See Evaporative Hose Removal Note (Type A).)
- For California emission regulation applicable model, refer to the "Evaporative Hose Removal Note" to disconnect evaporative hose (to the fuel tank) from the charcoal canister. (See Evaporative Hose Removal Note (Type B).)

Charcoal Canister Installation Note

- Refer to the "Evaporative Hose Installation Note" to connect the evaporative hose from the charcoal canister.

Evaporative Hose Removal Note (Type A)

CAUTION: The quick release connector may be damaged if the tab is bent excessively. Do not expand the tab over the stopper.

1. Disconnect the quick release connector.
1. Push the tab on the locking coupler 90 ° until it stops.
2. Pull the evaporative hose straight back.









NOTE:
- The stopper may be removed from the quick connector. Take care not to lose it. Reinstall it to the quick release connector before reconnecting the joint port.
- The locking coupler has two internal locking tabs which retain the joint port. Be sure that the tab on the locking coupler is rotated until it stops to release two internal locking tabs.

2. Cover the disconnected quick release connector and joint port with vinyl sheets or the like to prevent them from being scratched or contaminated with foreign material.

Evaporative Hose Removal Note (Type B)

CAUTION: The quick release connector may be damaged if the tab is bent excessively. Do not expand the tab over the stopper.

1. Disconnect the quick release connector.




1. Push the tab on the locking coupler until it stops.
2. Pull the evaporative hose straight back.






NOTE: The locking coupler has the internal locking tab which retain the joint port. Be sure that the tab on the locking coupler is pushed until it stops to release the internal locking tab.

2. Cover the disconnected quick release connector and joint port with vinyl sheets or the like to prevent them from being scratched or contaminated with foreign material.

Evaporative Hose Installation Note






NOTE: For type A, a checker tab is integrated with the quick release connector for new evaporative hoses. The checker tab will be released from the quick release connector after it is completely engaged with the joint port.

1. Inspect the joint port sealing surface for damage and deformation, and replace if necessary.
- If the quick release connector O-ring is damaged, replace the evaporative hose.




2. Slightly apply clean engine oil to the sealing surface of the joint port.
3. Align the joint port with quick release connector so that the tabs of the retainer are correctly fitted into the quick release connector. Push the quick release connector straight into the joint port until a click is heard.
4. Lightly pull and push the quick release connector a few times by hand and verify that it can move 2.0 - 3.0 mm {0.08 - 0.11 in} and it is connected securely.
- If the quick release connector does not move at all, verify that O-ring is not damaged and slipped, and reconnect the quick release connector.