Operation CHARM: Car repair manuals for everyone.
Manuals through 2025 now available!

Our trusted friends have launched a new website named LEMON, which has newer manuals. It also contains all the CHARM manuals.

LEMON is the spiritual successor to CHARM, I recommend you try it!

Link: lemon-manuals.la or lemon-manuals.org.ua

(Some people have issue connecting. LEMON is investigating. For now, use Firefox or change your DNS server)

Or, hide this message: temporarily or permanently

Assembly procedure

Assembly procedure





1. Measure the bushing of the front sun gear.

Bushing inner diameter
Standard: 18.000-18.018 mm (0.70866-0.70936 in)
Maximum: 18.038 mm (0.71016 in)

2. If not as specified, replace the front sun gear.





3. Measure the bushing of the end cover.

Bushing inner diameter
Standard: 23.600-23.621 mm (0.92913-0.92995 in)
Maximum: 23.641 mm (0.93075 in)

4. If not as specified, replace the end cover.





5. Assemble the SST.





6. Lift the transaxle case and mount it on the SST.
7. Install the oil pipe.





8. Install a new funnel and bearing race.





9. Install the bearing race, then tighten torx screws.

Tightening torque:
10.8-13.7 Nm (110-140 kgf-cm2, 95.5-121 in. lbf.)





10. Install the bearing race to the transaxle case.
11. Install the locknut.





1) Set the primary gear.





2) Set the distance piece and bearing.





3) Loosely tighten the locknut.








4) Set the SSTs in the order shown.





5) Tighten the locknut from the end cover side to adjust the preload within the specification.

Preload:
0.50-0.90 Nm (5.10-9.17 kgf-cm2, 4.42-7.96 in. lbf.)





6) Stake the locknut.
7) Remove the SST





12. Install the front internal gear and one-way clutch.
13. Apply petroleum jelly to the bearing, and secure it to the front planetary gear component.





14. Install the front planetary gear component.
15. Apply petroleum jelly to the bearing, and secure it to the front sun gear.





16. Install the front sun gear.








17. Install the rear planetary gear.

Note: Rotate the engine stand so that the oil pan faces downward. Pull the front internal gear and one-way clutch component a little until the groove for the snap ring appears, then install the snap ring.





18. Install the snap ring.
19. Rotate the engine stand so that the end cover faces upward, and verify that the snap ring is installed accurately.
20. Install the band servo component.
1) Install the servo return spring and servo piston.
2) Apply ATF to the O-ring, and install it to the transaxle case.





3) Install the servo retainer.

Tightening torque:
10.8-13.7 Nm (110-140 kgf-cm2, 95.5-121 in. lbf.)





21. Install the 2-4 brake band.
22. Apply petroleum jelly to the bearing, and secure it to the clutch component.





23. Install the clutch component.
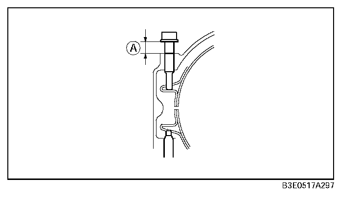
24. Select the band strut.
1) Find an appropriate bolt (under head length: 60-70 mm (2.36-2.75 in)), and tighten the 2-4 brake band with the bolt.

Tightening torque:
4.9 Nm (50 kgf-cm2, 43 in. lbf.)





2) Measure the dimension A shown in the figure.
3) Remove the bolt.





4) Measure the dimension B shown in the figure.
5) Calculate according to the formula below.

B - A = C (The middle of the under head length)
C - 4 = D (The lower limit of under head length)
C - 4.7 = E (The upper limit of under head length)

6) Select a band strut whose length should be between D and E.

Band strut length








7) Install the selected band strut.

Tightening torque:
37-52 Nm (3.8-5.3 kgf-m 28-38 ft. lbf.)

25. Use the following procedure to adjust the total end play.
1) Install the thickest bearing race (2.6 mm (0.102 in)) to the end cover.
2) Install the end cover to the clutch component.





3) Measure the clearance A between transaxle case and end cover.
4) Calculate according to the formulas below. Select an appropriate bearing race whose bearing thickness matches the calculated limits.

A - 2.6 mm (0.102) (Bearing thickness) = B
B - 0.25 = C (The lower limit of bearing thickness)
B - 0.50 = D (The upper limit of bearing thickness)





5) Select a bearing race whose thickness is between D mm (in) and C mm (in).

Bearing race sizes





Caution: The bearing race and end cover may be damaged if the end cover is not installed correctly to the transaxle case. Align the projection of the bearing race within the area of the arrows shown in the figure, and then install the end cover to the transaxle case.

6) Remove the end cover, apply petroleum jelly to the selected bearing race, then install it to the end cover.





26. Apply ATF to new seal ring, and install it to the end cover.

Seal ring inner diameter
A: 47.1 mm (1.854 in)
B: 55.8 mm (2.197 in)





27. Apply a light coat of silicone sealant to the contact surfaces of the transaxle case and the end cover.
28. Apply ATF to the O-ring and install it to the transaxle case.





29. Install the end cover to the transaxle case.

Tightening torque:
19-25 Nm (1.9-2.6 kgf-m, 14-18 ft. lbf.)





30. Install the pawl return spring to the transaxle case.





31. Install the packing pawl and parking pawl shaft to the transaxle case.





32. Install the pawl return spring to the parking pawl and parking pawl shaft.





33. Install the support plate to the transaxle case.





34. Install the actuator plate to the transaxle case.

Tightening torque:
10.8-13.7 Nm (110-140 kgf-cm2, 95.5-121 in. lbf.)

35. Install the secondary gear and output gear.





36. Install the differential.





37. Install the forward clutch component.





38. Apply a light coat of silicone sealant to the contact surfaces of the converter housing and the transaxle case.





39. Install the converter housing.

Tightening torque:
19-25 Nm (1.9-2.6 kgf-m, 14-18 ft. lbf.)





40. Install the SST into the differential side gears.
41. Apply ATF to the new O-ring and install it to the oil pump.





42. Install the oil pump.

Tightening torque:
19-25 Nm (1.9-2.6 kgf-m, 14-18 ft. lbf.)





43. Install the parking rod lever component.

Tightening torque:
19-25 Nm (1.9-2.6 kgf-m, 14-18 ft. lbf.)

44. Apply ATF to the new O-ring and install it to the manual shaft.
45. Install the manual shaft.





1) Install the manual shaft to the manual plate and detent bracket component.





2) Install the knock pin.





46. Install the accumulator component.








47. Install the coupler component.

Caution: Make sure that the head of the manual valve and the parking rod are assembled properly. If they are not, the ranges cannot be changed.





48. Install the control valve body.

Tightening torque:
7.8-10.8 Nm (80-110 kgf-cm2, 69-95.5 in. lbf.)

Bolt length (measured from below the head)
B: 40 mm (1.575 in)
No mark: 70 mm (2.756 in)

49. Apply ATF to the new O-ring and install it to the oil strainer.





50. Install the oil strainer.
51. Match the harness colors, then connect the solenoid connector and transaxle fluid temperature sensor.








52. Install the ground.

Tightening torque:
7.8-10.8 Nm (80-110 kgf-cm2, 69-95.5 in. lbf.)

Warning: Using compressed air can cause dirt and other particles to fly out, causing injury to the eyes. Wear protective eye wear whenever using compressed air.

Caution:
^ Clean the transaxle exterior thoroughly with a steam cleaner or cleaning solvents before removal.
^ If any old sealant gets into the transaxle during installation of the oil pan, trouble may occur in the transaxle case and oil pan, and clean with cleaning fluids.






53. Apply a light coat of silicone sealant to the contact surfaces of oil pan and transaxle case.

54. Install the oil pan.

Tightening torque:
5.9-7.8 Nm (60-80 kgf-cm2, 53-69 in. lbf.)

55. Install the oil pipe.

Tightening torque:
24-35 Nm (2.4-3.6 kgf-cm2, 18-26 in. lbf.)

56. Apply ATF to the new O-ring and install it to the vehicle speed sensor.
57. Install the vehicle speed sensor.

Tightening torque:
7.8-10.8 Nm (80-110 kgf-cm2, 69-95.5 in. lbf.)

58. Apply ATF to the new O-ring and install it to the input/turbine speed sensor.
59. Install the oil pressure switch.

Tightening torque:
17.1-22.1 Nm (1.75-2.25 kgf-m 12.7-16.2 ft. lbf.)

60. Install the input/turbine speed sensor using a new bolt.

Caution:
^ Always use a new bolt. If the removed bolt is reused, it may cause oil leakage.
^ A sealant coating is applied to the input/turbine speed sensor installation bolt to prevent oil leakage from the installation bolt hole which passes through the component.


Tightening torque:
8-11 Nm (82-112 kgf-cm2, 71-97 in. lbf.)





61. Install the transaxle range switch.
1) Rotate the manual shaft to the N position.








2) Turn the protrusion a resistance between the terminals B and C become 750 ohms.





3) Install the TR switch while aligning the protrusion and groove as shown.
4) hand- tighten the TR switch mounting bolts.





5) Inspect the resistance between the terminals B and C.
^ If not as specified, readjust the TR switch.

Resistance:
750 ohms

6) Tighten the TR switch mounting bolts

Tightening torque:
8-11 Nm (82-112 kgf-cm2, 71-97 in. lbf.)

Caution: Do not use an impact wrench. Hold the manual shaft lever when removing the manual shaft nut, or the transaxle may be damaged.





7) Install the manual shaft lever and the washer.





8) Set the adjustable wrench as shown to hold the manual shaft lever, and tighten the manual shaft nut.

Tightening torque:
32-46 Nm (3.2-4.7 kgf-m 24-33 ft. lbf.)

62. Remove the transaxle from the SST.
63. Apply ATF to the new O-ring and install it to the oil filler tube.
64. Install the oil dipstick and oil filler tube to the transaxle.

Tightening torque:
7.8-10.8 Nm (80-110 kgf-cm2, 69-95.5 in. lbf.

65. Drain any ATF remaining in the torque converter.
66. Pour in solvent (approx. 0.5 L (0.53 US qt, 0.44 Imp qt)),
67. Shake the torque converter to clean the inside.
68. Pour out the solvent.
69. Pour the ATF.





70. Install the torque converter by aligning its gap to the oil pump inner rotor gap as shown in the figure.





71. To ensure that the torque converter is installed accurately, measure distance A between the end of the torque converter and the end of the converter housing.

Distance A
Mazda 3: 31.4 mm (1.24 in)
Mazda 6: 21.4 mm (0.84 in)