Operation CHARM: Car repair manuals for everyone.
Manuals through 2025 now available!

Our trusted friends have launched a new website named LEMON, which has newer manuals. It also contains all the CHARM manuals.

LEMON is the spiritual successor to CHARM, I recommend you try it!

Link: lemon-manuals.la or lemon-manuals.org.ua

(Some people have issue connecting. LEMON is investigating. For now, use Firefox or change your DNS server)

Or, hide this message: temporarily or permanently

Assembly Procedure

Assembly Procedure





1. Apply ATF to new oil seal and install it onto oil pump housing using the SST.





2. Measure the clearance between the end of the oil pump housing and the outer rotor and inner rotor at four places along their circumferences.

Clearance
Standard:
0.04-0.05 mm (0.0015-0.0019 in)
Maximum:
0.06 mm (0.0023 in)

^ If not as specified, replace the oil pump.





3. Measure the clearance between the outer rotor and the inner rotor.

Oil clearance
Standard:
0.02-0.13 mm (0.0008-0.0051 in)
Maximum:
0.14 mm (0.0055 in)

^ If not within the specification, replace the oil pump.

4. Apply ATF to the outer and inner rotors.
5. Align the marks and install the outer and inner rotors.





6. Install the oil pump flange.
7. Mount the oil pump cover onto the oil pump housing.





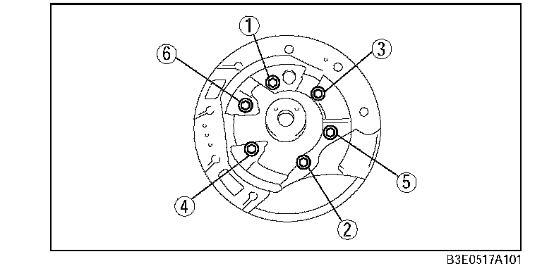
8. Tighten the bolts evenly and gradually in the order shown.

Tightening torque:
8.0-10 Nm (82-112 kgf-cm2, 71-97 in. lbf.)





9. Apply ATF to new O-ring and install it onto the oil pump housing.

O-ring inner diameter:
209.5 mm (8.248 in)





10. Apply ATF to new seal rings and install them onto the oil pump cover.

Seal ring inner diameter:
47.1 mm (1.854 in)