Operation CHARM: Car repair manuals for everyone.
Manuals through 2025 now available!

Our trusted friends have launched a new website named LEMON, which has newer manuals. It also contains all the CHARM manuals.

LEMON is the spiritual successor to CHARM, I recommend you try it!

Link: lemon-manuals.la or lemon-manuals.org.ua

(Some people have issue connecting. LEMON is investigating. For now, use Firefox or change your DNS server)

Or, hide this message: temporarily or permanently

Automatic Transaxle Removal/Installation

AUTOMATIC TRANSAXLE REMOVAL/INSTALLATION [FN4A-EL]
1. Disconnect the negative battery cable.
2. Remove the battery and battery tray.
3. Remove the air cleaner component.
4. Remove the front tires and splash shield.
5. Remove the under cover.
6. Remove the steering gear and linkage, and pipe assembly installation bolts from the front crossmember, then suspend the steering gear and linkage with a cable.
Pipe assembly tightening torque 7.8 - 10.8 Nm (79.6 - 110.0 kgf-cm, 69.1 - 95.5 inch lbs.)
7. Drain the ATF.

Warning:
^ Improperly jacking a transaxle is dangerous. It can slip off the jack and may cause serious injury.


Caution:
^ To prevent the torque converter and transaxle from separating, remove the transaxle without tilting it toward the torque converter.

8. Remove in the order shown in the figure.
9. Install in the reverse order of removal.
10. Add ATF to the specified level.





11. Carry out the mechanical system test.








12. Perform the road test.

No. 1 Engine Mount Bracket Removal Note





1. Support the engine using the SST before removing the NO engine mount.
2. Remove the NO engine mount.

Transaxle Removal Note





1. Loosen the part marked A and lean the engine toward the transaxle.
2. Support the transaxle on a jack.
3. Remove the transaxle mounting bolts.





4. Remove the transaxle.

Transaxle Installation Note
1. Set the transaxle on a jack and lift it.





2. Install the transaxle mounting bolts.
Tightening torque 37.3 - 52 Nm (3.8 - 5.3 kgf-m, 28 - 38 ft. lbs.)

Torque Converter Nuts Removal Note





1. Hold the crankshaft pulley to prevent the drive plate from rotating.





2. Remove the torque converter nuts from the starter installation hole.

Torque Converter Nuts Installation Note





1. Hold the crankshaft pulley to prevent the drive plate from rotating.

Caution:
^ Loosely and equally tighten the torque converter nuts, then further tighten them to the specified tightening torque.





2. Tighten the torque converter mounting nuts.
Tightening torque 34 - 44 Nm (3.5 - 4.4 kgf-m, 25 - 32 ft. lbs.)

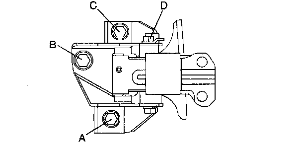
No. 1 Engine Mount and No. 4 Engine Mount Bracket Installation Note
1. Verify that the engine mount rubber is installed as shown.
2. By aligning the holes with the stud bolts, install the No. 4 engine mount bracket to the transaxle.
3. By aligning the holes with the stud bolts, install the No. 1 engine mount to the transaxle.
4. Align the hole of the No. 4 engine mount bracket with the No. 4 engine mount rubber on the vehicle, and lightly tighten bolt D.
5. Lightly tighten nuts A, B, C.





6. Tighten nuts A, B, C in the order of B -> C -> A.
7. Tighten bolt D.
Tightening torque
A, B, C: 66.6 - 93.1 Nm (6.8 - 9.4 kgf-m, 49.2 - 68.6 ft. lbs.)
D: 85.3 - 116.6 Nm (8.7 - 11.8 kgf-m, 62.9 - 85.9 ft. lbs.)





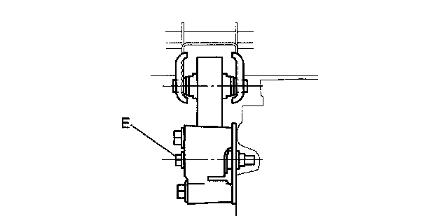
8. Tighten bolt E to the No. 1 engine mount.
Tightening torque
E: 8,5.3 - 116.6 Nm (8.7 - 11.8 kgf-m, 62.9 - 85.9 ft. lbs.)
9. Remove the SST (49 E017 5AO).