Operation CHARM: Car repair manuals for everyone.
Manuals through 2025 now available!

Our trusted friends have launched a new website named LEMON, which has newer manuals. It also contains all the CHARM manuals.

LEMON is the spiritual successor to CHARM, I recommend you try it!

Link: lemon-manuals.la or lemon-manuals.org.ua

(Some people have issue connecting. LEMON is investigating. For now, use Firefox or change your DNS server)

Or, hide this message: temporarily or permanently

Manual Transaxle Removal/Installation

MANUAL TRANSAXLE REMOVAL/INSTALLATION [G35M-R]
1. Disconnect the negative battery cable.
2. Remove the battery and battery tray.
3. Remove the air cleaner component.
4. Remove the wheels, tires and splash shields.
5. Remove the under cover.
6. Remove the steering gear and linkage, and pipe assembly installation bolts from the front crossmember, then suspend the steering gear and linkage with a cable.
Pipe assembly tightening torque 7.8 - 10.8 Nm (79.6 - 110.0 kgf-cm, 69.1 - 95.5 inch lbs.)
7. Drain the transaxle oil into a suitable container.

Warning:
^ Improperly jacking a transaxle is dangerous. It can slip off the jack and may cause serious injury.


8. Remove in the order indicated in the table.
9. Install in the reverse order of removal.
10. Add the specified amount of specified transaxle oil.
11. Warm up the engine and transaxle, inspect for oil leakage, and inspect the transaxle operation.








No. 1 Engine Mount Bracket Removal
1. Support the engine using the SST before removing the No. 1 engine mount.





2. Remove the No. 1 engine mount.

Manual Transaxle Removal





1. Loosen the SST (49 E017 5A0) and lean the engine toward the transaxle.
2. Support the transaxle on a jack.
3. Remove the transaxle mounting bolts.
4. Remove the transaxle.

Manual Transaxle Installation
1. Set the transaxle on a jack and lift into place.





2. Install the transaxle mounting bolts.
3. Tighten the SST (49 E017 5A0) so that the engine is located at the specified position.

No. 1 Engine Mount and No. 4 Engine Mount Bracket Installation





1. Verify that the engine mount rubber is installed as shown.
2. By aligning the holes with the stud bolts, install the No. 4 engine mount bracket to the transaxle.
3. By aligning the holes with the stud bolts, install the No. 1 engine mount to the transaxle.
4. Align the hole of the No. 4 engine mount bracket with the No. 4 engine mount rubber on vehicle, and temporarily tighten bolt D.
5. Lightly tighten nuts B, C and bolt A.
6. Tighten nuts B, C in order of B -> C, then bolt A.
7. Tighten bolt D.
Tightening torque
A, B, C: 66.6 - 93.1 Nm (6.8 - 9.4 kgf-m, 49.2 - 68.6 ft. lbs.)
D: 85.3 - 116.6 Nm (8.7 - 11.8 kgf-m, 62.9 - 85.9 ft. lbs.)





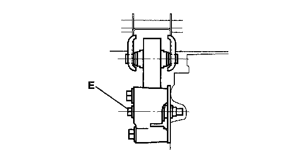
8. Tighten bolt E to the No. 1 engine mount.
Tightening torque
E: 85.3 - 116.6 Nm (8.7 - 1 1.8 kgf-m, 62.9 - 85.9 ft. lbs.)
9. Remove the SST (49 E017 5A0).