Operation CHARM: Car repair manuals for everyone.
Manuals through 2025 now available!

Our trusted friends have launched a new website named LEMON, which has newer manuals. It also contains all the CHARM manuals.

LEMON is the spiritual successor to CHARM, I recommend you try it!

Link: lemon-manuals.la or lemon-manuals.org.ua

(Some people have issue connecting. LEMON is investigating. For now, use Firefox or change your DNS server)

Or, hide this message: temporarily or permanently

Manual Transaxle Removal/Installation

MANUAL TRANSAXLE REMOVAL/INSTALLATION [A65M-R]
1. Disconnect the negative battery cable.
2. Remove the battery and battery tray.
3. Remove the air cleaner component and air cleaner bracket.
4. Remove the starter.
5. Remove the front tires and splash shields.
6. Remove the under cover.
7. Remove the steering gear and linkage, and pipe assembly installation bolts from the front crossmember, then suspend the steering gear and linkage with a cable.
Tightening torque
^ Pipe assembly: 7.8 - 10.8 Nm (79.6 - 110.0 kgf-cm, 69.1 - 95.5 inch lbs.)

8. Drain the transaxle oil into a suitable container.

Warning:
^ Improperly jacking a transaxle is dangerous. it can slip off the jack and may cause serious injury.


9. Remove in the order indicated in the figure.
10. Install in the reverse order of removal.
11. Add the specified amount of specified transaxle oil.
12. Warm up the engine and transaxle, inspect for oil leakage, and inspect the transaxle operation.








No. 1 Engine Mount Removal
1. Remove the dynamic chamber.





2. Install the SST to cylinder head.





3. Support the engine the SSTs before removing the No. 1 engine mount.
4. Remove the No. 1 engine mount.

Manual Transaxle Removal





1. Remove the stud of the No. 4 engine mount.
2. Loosen the SST (49 E017 5AO) and lean the engine toward the transaxle.





3. Support the transaxle on a jack.
4. Remove the transaxle mounting bolts.
5. Remove the transaxle.

Manual Transaxle Installation





1. Set the transaxle on a jack and lift into place.
2. Install the transaxle mounting bolts.





3. Install the stud of the No. 4 engine mount.
Tightening torque 27.4 - 40.2 Nm (2.8 - 4.0 kgf-m, 20.2 - 29.6 ft. lbs.)
4. Tighten the SST (49 E017 5AO) so that the engine is located at the specified position.

No. 4 Engine Mount Installation
1. Verify that the No. 4 engine mount rubber is installed as shown.
2. Lightly tighten bolts A and B.
3. Align the installation hole on the contacted area of the front frame with the bolt C installation hole.





4. Tighten bolt A, then bolt B.
5. Tighten bolt C, then bolt D.
Tightening torque
A, B, C, D: 74.5 - 100.9 Nm (7.6 - 10.2 kgf-m, 55.0 - 74.4 ft. lbs.)
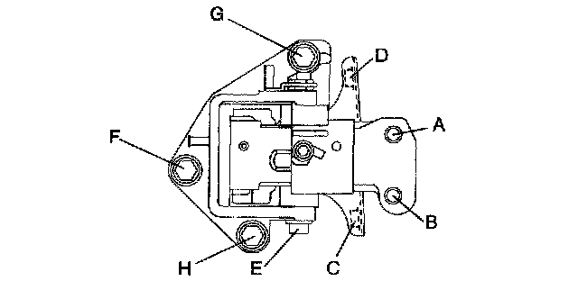
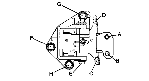
6. Verify that the No. 4 engine mount bracket is installed as shown.
7. Lightly tighten bolt E.





8. Set the transaxle on a garage jack and lift it.
9. Align the hole of the No. 4 engine mount bracket with the stud bolts of transaxle.
10. Lightly tighten nut F, G and bolt H.
11. Tighten nuts F, G in order of F -> G, then bolt H.





12. Tighten bolt E.
Tightening torque
E: 85.3 - 116.6 Nm (8.7 - 11.8 kgf-m, 63.0 - 85.9 ft. lbs.)
F, G, H: 66.6 - 93.1 Nm (6.8 - 9.4 kgf-m, 49.2 - 68.6 ft. lbs.)
13. Remove the SST (49 E017 5AO).

No. 1 Engine Mount Installation
1. Align the hole of the No. 1 engine mount rubber with the bolt hole of transaxle.





2. Lightly tighten bolt A, then tighten bolts B and C.
3. Tighten bolt A.
Tightening torque 66.6 - 93.1 Nm (6.8 - 9.4 kgf-m, 49.2 - 68.6 ft. lbs.)