Operation CHARM: Car repair manuals for everyone.
Manuals through 2025 now available!

Our trusted friends have launched a new website named LEMON, which has newer manuals. It also contains all the CHARM manuals.

LEMON is the spiritual successor to CHARM, I recommend you try it!

Link: lemon-manuals.la or lemon-manuals.org.ua

(Some people have issue connecting. LEMON is investigating. For now, use Firefox or change your DNS server)

Or, hide this message: temporarily or permanently

Intake-Air System Removal/Installation

INTAKE-AIR SYSTEM REMOVAL/INSTALLATION

WARNING
- When the engine and intake-air system are hot, they can badly burn. Turn off the engine and wait until they are cool before removing the intake-air system.
- Fuel vapor is hazardous. It can easily ignite, causing serious injury and damage. Always keep sparks and flames away from fuel.
- Fuel line spills and leakage are dangerous. Fuel can ignite and cause serious Injuries or death and damage. Fuel can also irritate skin and eyes. To prevent this, always complete the "Fuel Line Safety Procedure". (See BEFORE REPAIR PROCEDURE.)


1. Disconnect the negative battery cable.




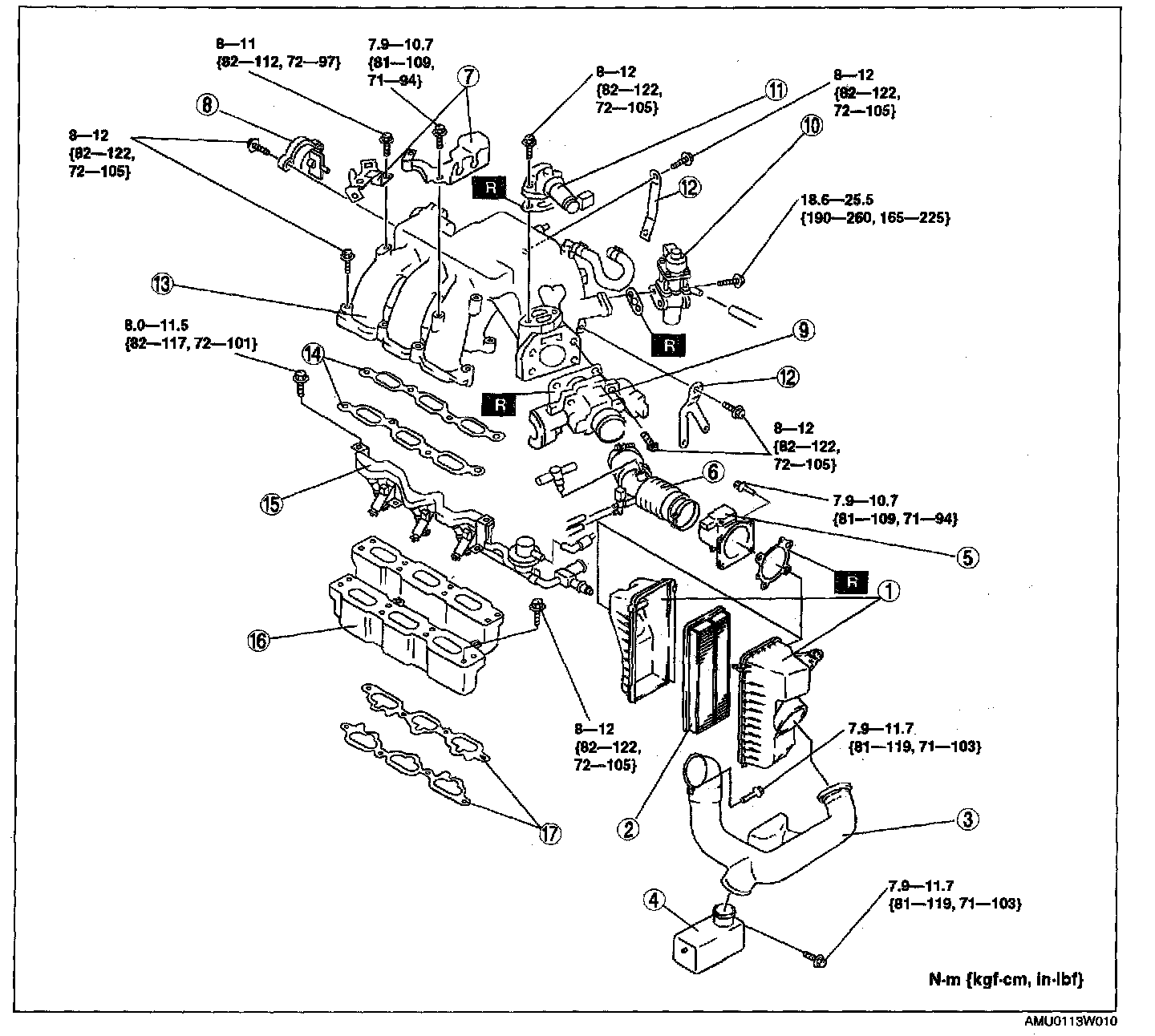
2. Remove in the order indicated below.
1. Air cleaner
2. Air cleaner element
3. Fresh-air duct (See Fresh-air Duct Removal Note)
4. Resonance chamber (See Resonance Chamber Removal Note)
5. Mass air flow sensor
6. Air hose
7. Accelerator cable bracket
8. IMCC actuator
9. Throttle body
10. EGR valve (See EGR VALVE REMOVAL/INSTALLATION)
11. IAC valve
12. Bracket
13. Dynamic chamber (See Dynamic Chamber Installation Note)
14. Dynamic chamber gasket
15. Fuel distributor (See Fuel Distributor Removal Note)
16. Intake manifold (See Intake Manifold Installation Note)
17. Intake manifold gasket

3. Install in the reverse order of removal.

Fresh-air Duct Removal Note
1. Remove the fuse box, battery and battery tray before removing the fresh-air duct. (See BATTERY REMOVAL/INSTALLATION.)

Resonance Chamber Removal Note
1. Remove the front mudguard (LH) before removing the resonance chamber. (See FRONT FENDER PANEL REMOVAL/INSTALLATION.)

Fuel Distributor Removal Note
1. Disconnect the fuel injector connector and fuel hoses using the SST before removing the fuel distributor. (See FUEL INJECTOR REMOVAL/INSTALLATION.)

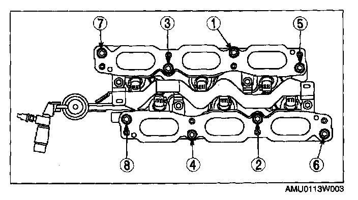
Intake Manifold installation Note




1. Tighten the intake manifold installation bolts in the order indicated.

Tightening torque: 8 - 12 N.m {82 - 122 kgf.cm, 72 - 105 in.lbf}

Dynamic Chamber Installation Note




1. Tighten the dynamic chamber installation bolts in the order indicated.

Tightening torque: 8 - 12 N.m {82 - 122 kgf.m, 72 - 105 in.lbf}