Operation CHARM: Car repair manuals for everyone.
Manuals through 2025 now available!

Our trusted friends have launched a new website named LEMON, which has newer manuals. It also contains all the CHARM manuals.

LEMON is the spiritual successor to CHARM, I recommend you try it!

Link: lemon-manuals.la or lemon-manuals.org.ua

(Some people have issue connecting. LEMON is investigating. For now, use Firefox or change your DNS server)

Or, hide this message: temporarily or permanently

Ignition Lock Cylinder Removal / Installation

IGNITION LOCK CYLINDER REMOVAL / INSTALLATION
Lock Cylinder Functional
1. Disconnect the negative battery cable.
2. Insert the ignition key (2) and turn to the RUN position.
3. Press the lock cylinder release pin (3) while pulling out the lock cylinder.
4. Install in reverse order of removal.





5. Verify lock cylinder operation.

Lock Cylinder Non-Functional

Note:
^ Make sure the front wheels are in the straight ahead position.

1. Remove the steering wheel.
2. Twist off the cap from the lock cylinder.

Note:
^ The lock cylinder is repaired by discarding the inoperative lock cylinder and building a new lock cylinder using the appropriate lock repair package. The lock repair package includes a detailed instruction sheet to build the new lock cylinder to the current key code of the vehicle.

3. Use a 1/8 inch diameter drill bit to drill out the lock cylinder retaining pin.





4. Use a 3/8 inch diameter drill bit to drill down the middle of the ignition lock key slot until the ignition switch lock cylinder breaks loose.
5. Remove and discard the lock cylinder and drill shavings from the steering column.





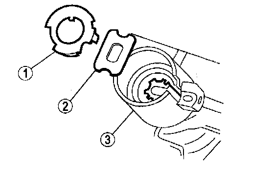
6. Remove the bearing retainer (1), bearing (2) and gear (3). Thoroughly clean all drill shavings from the steering column and inspect it for damage.

Note:
^ Use a new lock cylinder.

7. Install in reverse order of removal.
8. Verify lock cylinder operation.