Operation CHARM: Car repair manuals for everyone.
Manuals through 2025 now available!

Our trusted friends have launched a new website named LEMON, which has newer manuals. It also contains all the CHARM manuals.

LEMON is the spiritual successor to CHARM, I recommend you try it!

Link: lemon-manuals.la or lemon-manuals.org.ua

(Some people have issue connecting. LEMON is investigating. For now, use Firefox or change your DNS server)

Or, hide this message: temporarily or permanently

Electrical System General Procedures

ELECTRICAL PARTS




Battery Cable
- Before disconnecting connectors or removing electrical parts, disconnect the negative battery cable.

Wiring Harness




- To remove the wiring harness from the clip in the engine room, pry up the hook of the clip using a flathead screwdriver.






CAUTION: Do not remove the Harness protective tape. Otherwise, the wires could rub against the body, which could result in water penetration and electrical shorting.

CONNECTORS




Data Link Connector
- Insert the probe into the terminal when connecting a jumper wire to the data link connector.

CAUTION: Inserting a jumper wire probe into the data link connector terminal may damage the terminal.

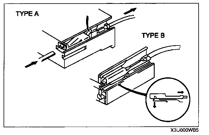
Disconnecting Connectors




- When disconnecting connector, grasp the connectors, not the wires.




- Connectors can be disconnected by pressing or pulling the lock lever as shown.




Locking Connector
- When locking connectors, listen for a click indicating they are securely locked.

Inspection




- When a tester is used to inspect for continuity or measuring voltage, insert the tester probe from the wiring harness side.




- Inspect the terminals of waterproof connectors from the connector side since they cannot be accessed from the wiring harness side.

CAUTION: To prevent damage to the terminal, wrap a thin wire around the tester probe before inserting into terminal.

Terminals




Inspection
- Pull lightly on individual wires to verify that they are secured in the terminal.




Replacement
- Use the appropriate tools to remove a terminal as shown. When installing a terminal, be sure to insert it until it locks securely.
- Insert a thin piece of metal from the terminal side of the connector and with the terminal locking tab pressed down, pull the terminal out from the connector.




Sensors, Switches, And Relays
- Handle sensors, switches, and relays carefully. Do not drop them or strike them against other objects.

Fuse




Replacement
- When replacing a fuse, be sure to replace it with one of the same capacity. If a fuse fails again, the circuit probably has a short and the wiring should be inspected.
- Be sure the negative battery terminal is disconnected before replacing a main fuse.




- When replacing a pullout fuse, use the fuse puller.

ELECTRICAL TROUBLESHOOTING TOOLS




Jumper Wire
- A jumper wire is used to create a temporary circuit. Connect the jumper wire between the terminals of a circuit to bypass a switch.

CAUTION: Do not connect a jumper wire from the power source line to a body ground. This may cause burning or other damage to wiring harnesses or electronic components.




Voltmeter
- The DC voltmeter is used to measure circuit voltage. A voltmeter with a range of 15 V or more is used by connecting the positive (+) probe (red lead wire) to the point where voltage will be measured and the negative (-) probe (black lead wire) to a body ground.




Ohmmeter
- The ohmmeter is used to measure the resistance between two points in a circuit and to inspect for continuity and short circuits.

CAUTION: Do not connect the ohmmeter to any circuit where voltage is applied. This will damage the ohmmeter.