Operation CHARM: Car repair manuals for everyone.
Manuals through 2025 now available!

Our trusted friends have launched a new website named LEMON, which has newer manuals. It also contains all the CHARM manuals.

LEMON is the spiritual successor to CHARM, I recommend you try it!

Link: lemon-manuals.la or lemon-manuals.org.ua

(Some people have issue connecting. LEMON is investigating. For now, use Firefox or change your DNS server)

Or, hide this message: temporarily or permanently

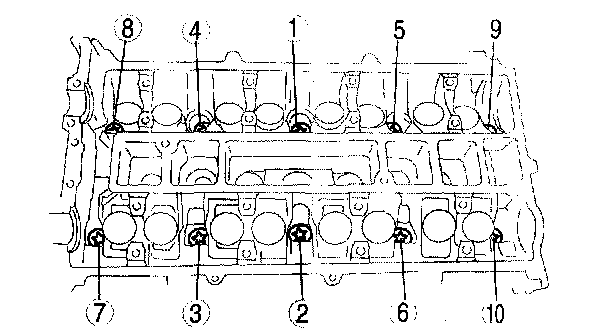
Torque Specifications




Cylinder Head





Tightening procedure
(1) 3 - 11 Nm (30.6 - 112 kgf-cm, 26.6 - 97.3 inch lbs.)
(2) 13 - 17 Nm (1.4 - 1.7 kgf-m, 9.6 - 12.5 ft. lbs.)
(3) 43 - 47 Nm (4.4 - 4.7 kgf-m, 31.8 - 34.6 ft. lbs.)
(4) 88° - 92°
(5) 88° - 92°

Cylinder head bolt length
Standard 144.7 - 145.3 mm (5.700 - 5.720 inch)
Maximum: 146 mm (5.748 inch)

Camshaft Bearing Cap





Install the camshaft caps and temporarily tighten the camshaft cap bolts evenly in two or three passes, and then tighten the camshaft cap bolts using the following two steps, in the order shown in the figure.

Tightening procedure
(1) 5.0 - 9.0 Nm (51.0 - 91.7 kgf-cm, 44.3 - 79.6 inch lbs.)
(2) 14.0 - 17.0 Nm (1.5 - 1.7 kgf-m, 10.4 - 12.5 ft. lbs.)

Crankshaft Main Bearing





Tightening procedure
(1) Apply engine oil to all bolts.
(2) 3 - 7 Nm (30.6 - 71.3 kgf-cm, 26.6 - 61.9 in lbf)
(3) 23 - 27 Nm (2.4 - 2.7 kgf-m, 17 - 19.9 ft lbf)
(4) 38 - 42 Nm (3.9 - 4.2 kgf-m, 28.1 - 30.9 ft lbf)
(5) Loosen all the bolts (until bolts are torque-free)
(6) 3 - 7 Nm (30.6 - 71.3 kgf-cm, 26.6 - 61.9 in lbf)
(7) 18 - 22 Nm (1.9 - 2.2 kgf-m, 13.3 - 16.2 ft lbf)
(8) 87.5° - 92.5°

Oil Pump





Tighten the oil pump bolts in two steps in the order shown in the figure.
Tightening torque
Step 1: 8 - 12 Nm (82 - 122 kgf-cm, 71 - 105 inch lbs.)
Step 2: 17 - 23 Nm (1.8 - 2.3 kgf-m, 12.6 - 16.9 ft. lbs.)

Water Pump





Exhaust Manifold





Tighten the exhaust manifold installation nuts in the order shown.
Tightening torque 43 - 64 Nm (4.4 - 6.5 kgf-m, 32 - 47 ft. lbs.)

Crankshaft Pulley

Tightening procedure
(1) 96 - 104 Nm (9.8 - 10.6 kgf-m, 70.9 - 76.7 ft. lbs.)
(2) 87° - 93°