Operation CHARM: Car repair manuals for everyone.
Manuals through 2025 now available!

Our trusted friends have launched a new website named LEMON, which has newer manuals. It also contains all the CHARM manuals.

LEMON is the spiritual successor to CHARM, I recommend you try it!

Link: lemon-manuals.la or lemon-manuals.org.ua

(Some people have issue connecting. LEMON is investigating. For now, use Firefox or change your DNS server)

Or, hide this message: temporarily or permanently

System Specifications

Cylinder Head/Valve Train
Combustion chamber volume 52 cc (3.17 Cl)
Valve seat width-intake 1.1-1.4 mm (0.043-0.055 inch)
Valve seat width-exhaust 1.4-1.7 mm (0.055-0.066 inch)
Valve seat angle 44.75 degrees
Valve seat runout (T.I.R.) 0.04 mm (0.001 inch)
Valve Arrangement (Front to Rear)
LH intake S-P-S-P-S-P
LH exhaust E-E-E-E-E-E
RH intake P-S-P-S-P-S
RH exhaust E-E-E-E-E-E
Valve stem guide clearance
Intake 0.020-0.069 mm (0.0007-0.0027 inch)
Exhaust 0.045-0.094 mm (0.0017-0.037 inch)
Valve head diameter
Intake 35 mm (1.38 inch)
Exhaust 30 mm (1.18 inch)
Gauge diameter 31 and 24.5 mm (1.22 and 0.96 inch)
Valve face runout (limit) 0.05 mm (0.001 inch)
Valve face angle 45.5 degrees
Valve stem diameter (std)
Intake 5.975-5.995 mm (0.2350-0.2358 inch)
Exhaust 5.950-5.970 mm (0.2343-0.2350 inch)
Valve spring compression pressure
Intake (n @ spec. length) 680 N @ 30.19 mm (153 lbs. @ 1.18 inch)
Exhaust (n @ spec. length) 680 N @ 30.19 mm (153 lbs. @ 1.18 inch)
Valve spring free length (approximate)
Intake 46.8 mm (1.84 inch)
Exhaust 46.8 mm (1.84 inch)
Valve spring installed pressure n @ spec. length
Intake 228 N @ 39.99 mm (51 lbs. @ 1.57 inch)
Exhaust 228 N @ 39.99 mm (51 lbs. @ 1.57 inch)
Valve springs installed pressure n @ spec. length-service limit 10% Pressure Loss @ 30.09
Valve springs-out of square limit 1%
Rocker arm ratio 1.8 1
Hydraulic valve tappet
Diameter (std) 16-15.988 mm (0.6290-0.6294 inch)
Clearance to bore 0.018-0.069 mm (0.0007-0.0027 inch)
Service limit 0.016 mm (0.0006 inch)
Hydraulic leakdown rate 5-25 seconds (Time required for plunger to leak down 1.6 mm of travel with 222N force and leak down fluid in tappet.)
Collapsed valve tappet gap-desired 0.50-1.11 mm (0.019-0.043 inch)
Camshaft
Lobe lift 4.79 mm (0.188 inch)
Intake (primary) 4.79 mm (0.188 inch)
Intake (secondary) 4.79 mm (0.188 inch)
Exhaust 0 mm (0.0 inch)
Lobe lift-allowable lift loss
Valve lift - zero lash
Intake (primary) 9.80 mm (0.388 inch)
Intake (secondary) 9.80 mm (0.388 inch)
Exhaust 9.80 mm (0.388 inch)
Camshaft end play 0.027-0.190 mm
Standard 0.025-0.165 mm (0.001-0.0064 inch)
Service limit 0.190 mm (0.00748 inch)
Journal to bearing clearance
Standard 0.025-0.076 mm (0.001-0.0029 inch)
Service limit 0.121 mm (0.0047 inch)
Journal diameters (all) 26.962-26.936 mm (1.061-1.060 inch)
Journal inside diameter (cap assembled) 27.012-26.987 mm
Bearing inside diameter (all) 27.012-26.987 mm (1.063-1.062 inch)


Torque Specifications
For specifications regarding Cylinder Head bolts, refer to service procedure. Assembly (1 - 50)
Lower intake manifold bolts 10 Nm (1.0 kgf-m, 89 inch lbs.)





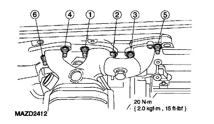
Upper intake manifold bolts

LH:




RH:





Camshaft Bearing Cap bolts

LH:




RH:





Exhaust Manifold bolts