Operation CHARM: Car repair manuals for everyone.
Manuals through 2025 now available!

Our trusted friends have launched a new website named LEMON, which has newer manuals. It also contains all the CHARM manuals.

LEMON is the spiritual successor to CHARM, I recommend you try it!

Link: lemon-manuals.la or lemon-manuals.org.ua

(Some people have issue connecting. LEMON is investigating. For now, use Firefox or change your DNS server)

Or, hide this message: temporarily or permanently

Control Valve Body Installation FN4A-EL

CONTROL VALVE BODY INSTALLATION [FN4A-EL]

On-Vehicle Installation





Caution: Be sure to align the parking rod and the manual valve.





1. Install the accumulator springs and accumulators into the transaxle case.








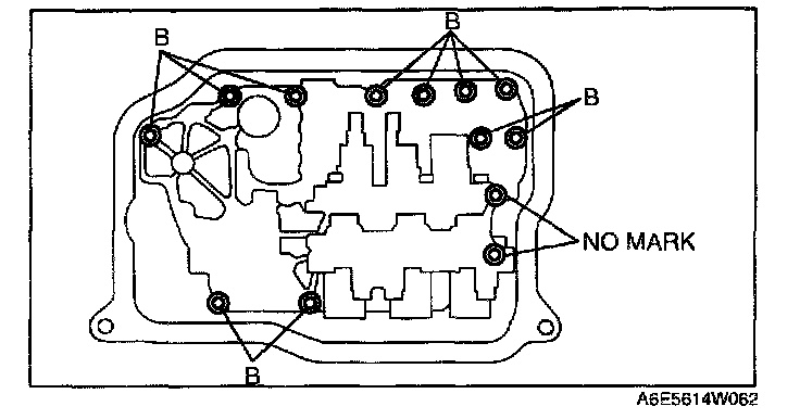
2. Install the control valve body component.

Tightening torque 7.8 - 10.8 N-m (80 - 110 kgf-cm, 69.5 - 95.4 in-lbf)

Bolt length (measured from below the head)
Mark B: 40 mm (1.575 in)
No mark: 70 mm (2.756 in)

3. Install the oil strainer.





4. Match the harness colors, then connect the solenoid connectors and GND, and install the TFT sensor.





5. Install the GND.

Tightening torque 8 - 11 N-m (82 - 112 kgf-cm, 71 - 97 in-lbf)

6. Apply a light coat of silicon sealant to the contact surfaces of the oil pan and transaxle case.





7. Install the oil pan.

Tightening torque 6 - 8 N-m (62 - 81 kgf-cm, 53 - 70 in-lbf)

8. Install the under cover.
9. Connect the negative battery cable.
10. Install the battery duct and battery cover.
11. Add ATF and with the engine idling, inspect the ATF level.
12. Perform the mechanical system test. (See MECHANICAL SYSTEM TEST [FN4A-EL]) Mechanical System Test