Operation CHARM: Car repair manuals for everyone.
Manuals through 2025 now available!

Our trusted friends have launched a new website named LEMON, which has newer manuals. It also contains all the CHARM manuals.

LEMON is the spiritual successor to CHARM, I recommend you try it!

Link: lemon-manuals.la or lemon-manuals.org.ua

(Some people have issue connecting. LEMON is investigating. For now, use Firefox or change your DNS server)

Or, hide this message: temporarily or permanently

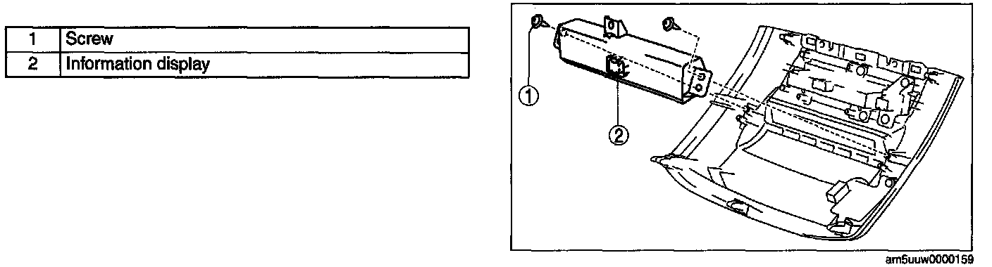
Driver/Vehicle Information Display: Service and Repair

INFORMATION DISPLAY REMOVAL/INSTALLATION

1. Remove the battery cover.
2. Disconnect the negative battery cable.
3. Remove the following parts:
1. Side wall.
2. Front console.
3. Center panel module.
4. Climate control unit (with car-navigation system).
5. Car-navigation unit (with car-navigation system).
6. Dashboard center panel.

4. Remove in the order indicated in the table.






5. Install in the reverse order of removal.