Operation CHARM: Car repair manuals for everyone.
Manuals through 2025 now available!

Our trusted friends have launched a new website named LEMON, which has newer manuals. It also contains all the CHARM manuals.

LEMON is the spiritual successor to CHARM, I recommend you try it!

Link: lemon-manuals.la or lemon-manuals.org.ua

(Some people have issue connecting. LEMON is investigating. For now, use Firefox or change your DNS server)

Or, hide this message: temporarily or permanently

Alternator: Testing and Inspection

GENERATOR INSPECTION [L3]

CAUTION: Do not apply direct battery positive voltage to the generator terminal D, otherwise it could cause damage to the internal parts (power translator) of the generator.

Generator Warning Light
1. Verify that the battery is fully charged.
2. Verify that the drive belt is correct. (See DRIVE BELT INSPECTION [L3].)
3. With the ignition switch turned to the ON position, verify that the generator warning light illuminates.
- If it does not illuminate, inspect the generator warning light and the wiring harness.
- If the generator warning light and the wiring harness are normal, inspect the PCM.
4. Verify that the generator warning light goes out after the engine is started.
- If the generator warning light does not go out, perform the DTC inspection, then perform troubleshooting according to the corresponding diagnostic procedure. (See ON-BOARD DIAGNOSTIC TEST [L3].) (See DTC TABLE [L3].)

Generator

Voltage
1. Verify that the battery is fully charged.
2. Verify that the drive belt is correct. (See DRIVE BELT INSPECTION [L3).)
3. Turn off all electrical loads.
4. Start the engine.
5. Verify that the generator rotates smoothly without any noise while the engine is running.
- If there is any noise, find the cause and repair or replace the generator.




6. Measure the voltage at each terminal using a tester.

Generator standard voltage [IG-ON]
Terminal B: B+
Terminal P: Approx. 1 V or less
Terminal D: Approx. 0 V

Generator standard voltage [Idle, 20 °C {68 °F}]
Terminal B: 13-15 V
Terminal P: Approx. 3-8 V
Terminal D: Turn the electrical loads
(headlights, blower motor, rear window defroster, brake lights, etc.) on and verify that the voltage reading increases.

Current

NOTE: Since the charging current decreases rapidly after starting the engine, carry out the following procedure quickly, and read the maximum current value.

1. Verify that the battery is fully charged.
2. Verify that the drive belt is correct. (See DRIVE BELT INSPECTION [L3].)
3. Disconnect the negative battery cable.
4. Connect a tester, which can read 120 A or more, between generator terminal B and the wiring harness.
5. Connect the negative battery cable.
6. Turn off all electrical loads.
7. Start the engine.
8. Increase engine speed to 2,500 rpm.

NOTE
- When the electrical load on the vehicle is low, the specified current cannot be verified although the generator is normal. In this case, increase the electrical load (Leave the headlights turned on for a while, then discharge the battery, or use a similar method.) and recheck.
- When the generator itself or the ambient temperature are too high, the specified current also cannot be verified. In this case, cool down the generator and recheck.

9. Turn the electrical loads (headlights, blower motor, rear window defroster, brake lights, etc.) on and verify that the current reading increases more than the minimum value indicated below.
- If it is not as specified, go to the PCM and generator shearing inspection. (See PCM and generator shearing inspection.)

Generator generated current minimum value
70% of the nominal output current (nominal output current: 110 A)
[Ambient temp. 20 °C {68 °F}, voltage 13.0-15.0 V, both engine and generator are hot]

PCM and generator shearing inspection




1. Connect the M-MDS to the DLC-2.
2. Inspect as follows:

Step 1-Step 5:






Generator Inner Parts

Rotor




1. Measure the resistance between the slip rings using a tester.
- If not within the specification, replace the rotor.

Generator rotor resistance (between slip rings) [20 °C {68 °F}]
1.8-2.2 ohms




2. Verify that there is no continuity between the slip ring and core using a tester.
- If there is continuity, replace the rotor.
3. Inspect the slip ring surface condition.
- If the slip ring surface is rough, use a lathe or tine sandpaper to smooth it.

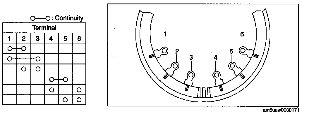
Stator coil
1. Verify that the continuity is as indicated in the table.
- If there is no continuity, replace the stator.









2. Verify that there is no continuity between the stator coil leads and the core using a tester.
- If there is continuity, replace the stator coil.

Brush

Specification:




1. Inspect brushes for wear.
- If any brush is worn almost to or beyond the limit, replace all of the brushes.

Generator brush length
Standard: 22.5 mm {0.886 in}
Minimum: 5.0 mm (0.20 in)

Brush spring
1. Measure the force of the brush spring using a spring pressure gauge.




2. Read the spring pressure gauge at the brush tip projection of 2 mm {0.08 in}.
- Replace the brush spring if necessary.

Generator brush spring force
Standard: 4.1-5.3 N {0.42-0.54 kgf, 1.0-1.1 lbf}
Minimum: 1.7 N {0.17 kgf, 0.38 lbf}

Rectifier (Using an analog circuit tester)
1. Inspect for continuity of the diodes using an analog circuit tester.
- If not as specified, replace the rectifier.

Specification:






Rectifier (Using a digital circuit tester)
1. Inspect for continuity of the diodes using a digital circuit tester.
- If not as specified, replace the rectifier.

Specification:






Bearing




1. Inspect for abnormal noise, looseness, and sticking.
- Replace the bearing if necessary.