Operation CHARM: Car repair manuals for everyone.
Manuals through 2025 now available!

Our trusted friends have launched a new website named LEMON, which has newer manuals. It also contains all the CHARM manuals.

LEMON is the spiritual successor to CHARM, I recommend you try it!

Link: lemon-manuals.la or lemon-manuals.org.ua

(Some people have issue connecting. LEMON is investigating. For now, use Firefox or change your DNS server)

Or, hide this message: temporarily or permanently

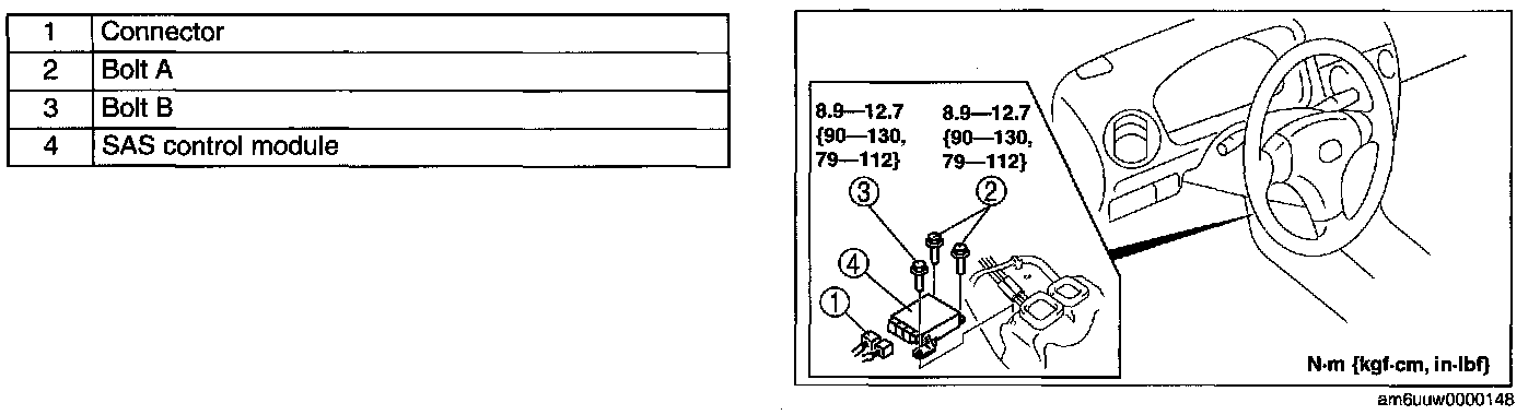
Removal and Replacement

SAS CONTROL MODULE REMOVAL/INSTALLATION

WARNING
- Handling the air bag system components improperly can accidentally operate (deploy) the air bag modules and pre-tensioner seat belts, which may seriously injure you. Read the service warnings and cautions before handling the air bag system components.


1. Turn the ignition switch to the LOCK position.
2. Disconnect the negative battery cable and wait for 1 min or more.
3. Partially peel back the floor covering between the lower panel and console on both the driver and passenger sides.
4. Remove in the order indicated in the table.

NOTE: Remove bolt A from the position where the floor covering between the passenger-side lower panel and console was peeled off, and remove bolt B from the position where the floor covering between the driver-side lower panel and console was peeled off.




5. Install in the reverse order of removal.
6. Turn the ignition switch to the ON position.
7. Verity that the air bag system warning light illuminates for approx. 6 s and goes out.

- If the air bag system warning light does not operate manner described above, there are malfunctions in the system. Inspect the system using the on-board diagnostic.